64. Engine Block Plug Installation
Engine Block Plug Installation- Tools Required
- J 41712 Oil Pressure Sensor Socket or equivalent
Important:
- Engine block plug (oil gallery and coolant) sealing washers may be reused if not bent, scored or otherwise damaged.
- Apply the proper amount and type of sealant to the sealing washer as recommended in the service procedure.

1. Apply a 3.175 mm (0.125 inch) bead of sealant GM P/N 12346004 or equivalent to the engine block coolant heater sealing washer, if applicable.
Notice: Refer to Fastener Notice in Service Precautions.
2. Install the engine block coolant heater to the engine block, if applicable.
- Tighten the block coolant heater to 40 Nm (30 ft. lbs.).

3. Apply a 3.175 mm (0.125 inch) bead of sealant GM P/N 12346004 or equivalent to the engine block left rear coolant drain plug sealing washer, if applicable.
4. Install the engine block left rear coolant drain plug, if applicable.
- Tighten the block left rear coolant drain plug to 60 Nm (44 ft. lbs.).

5. Apply a 3.175 mm (0.125 inch) bead of sealant GM P/N 12346004 or equivalent to the engine block right rear coolant drain plug sealing washer.
6. Install the engine block right rear coolant drain plug.
- Tighten the block right rear coolant drain plug to 60 Nm (44 ft. lbs.).

7. Apply a 3.175 mm (0.125 inch) bead of sealant GM P/N 12346004 or equivalent to the engine block left front oil gallery plug sealing washer.
8. Install the engine block left front oil gallery plug,
- Tighten the block left front oil gallery plug to 60 Nm (44 ft. lbs.).

9. Apply a 3.175 mm (0.125 inch) bead of sealant GM P/N 12346004 or equivalent to the engine block left rear oil gallery plug sealing washer.
10. Install the engine block left rear oil gallery plug.
- Tighten the block left rear oil gallery plug to 60 Nm (44 ft. lbs.).

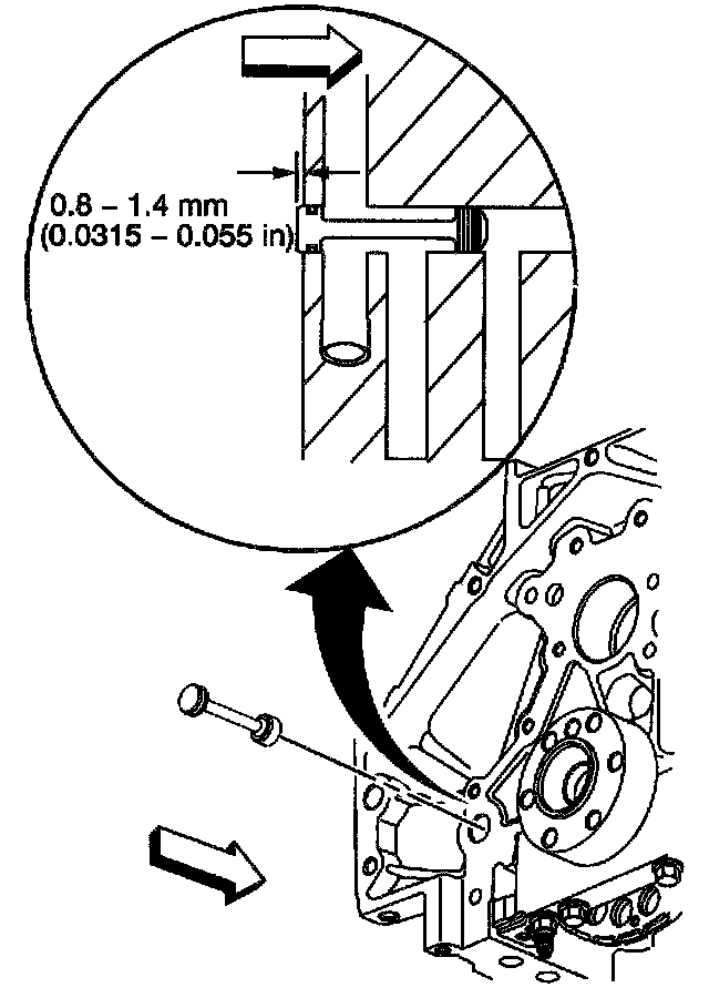
11. Inspect the engine block rear oil gallery plug and O-ring seal. If the O-ring seal on the plug it not cut or damaged, the rear oil gallery plug may be reused.
12. Lubricate the O-ring seal with clean engine oil.
13. Install the block rear oil gallery plug into the oil gallery bore. A properly installed block plug will protrude 0.8 - 1.4 mm (0.0315 - 0.055 inch) beyond the rear face of the block.

Important: The engine block front oil gallery plug should not be removed unless service is required.
14. Apply sealant GM P/N 12345382 or equivalent to the sides of the NEW front oil gallery plug.
15. Install a NEW engine block front oil gallery plug (if required). Install the front oil gallery plug into the oil gallery bore 2.2 - 2.8 mm (0.0086 - 0.011 inch) below flush.

16. Apply sealant GM P/N 12346004 or equivalent to the threads of the oil pressure sensor.
17. Use the J 41712 or equivalent in order to install the oil pressure sensor.
- Tighten the oil pressure sensor to 20 Nm (15 ft. lbs.).