B. Cylinder Head Bolt Hole Thread Repair
Cylinder Head Bolt Hole Thread Repair
1. The cylinder head bolt hole thread repair kit consists of the following items:
- Drill (1)
- Tap (2)
- Installer (3)
- Sleeve (4)
- Alignment Pin (5)
- Bushing (6)
- Bolts (7)
- Fixture Plate (8)

Caution: Refer to Safety Glasses Caution in Service Precautions.
Important: The use of a cutting type fluid GM P/N 1052864, WD 40, or equivalent is recommended when performing the drilling and tapping procedures.
Driver oil MUST be used on the installer driver tool.
The tool kits are designed for use with either a suitable tap wrench or drill motor.
2. Install the fixture plate (3), bolts (1), and bushing (2) onto the engine block deck.
Position the fixture plate and bushing over the hole that is to be repaired (4).

3. Position the alignment pin (1) through the bushing and into the hole.
4. With the alignment pin in the desired hole, tighten the fixture retaining bolts (2).

5. Remove the alignment pin from the hole.
6. Cylinder head bolt holes 1-8 are the deep holes and will be drilled without the drill sleeve.
Cylinder head bolt holes 9 and 10 are the shallower holes, drilling MUST be done with the drill sleeve in place.

7. Install the sleeve (2) onto the drill (1) (if required).

Important: During the reaming process, it is necessary to repeatedly remove the drill and clean the chips from the hole.
8. Drill out the threads of the damaged hole. Drill the hole until the stop collar of the drill bit or the sleeve contacts the bushing.
9. Using compressed air, clean out any chips.

10. Using a tap wrench, tap the threads of the drilled hole.

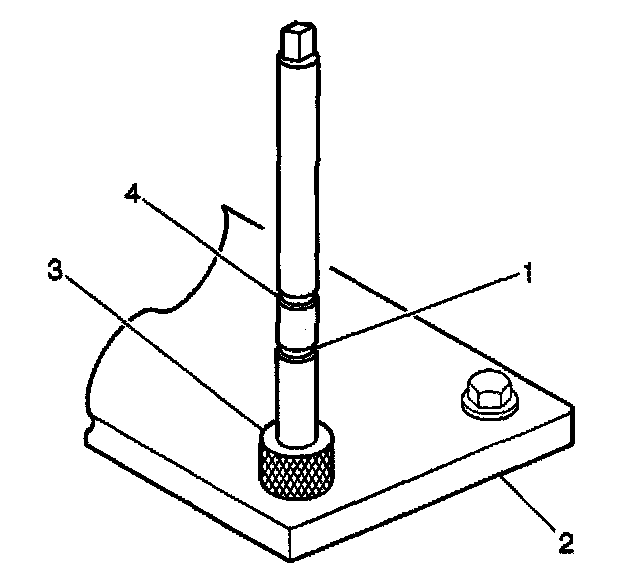
11. In order to tap the new threads to the proper depth, rotate the tap into the hole until the marks (1 or 4) on the tap align with the top of the drill bushing (3).
For the deeper cylinder head bolt holes, rotate the tap until the upper mark on the tap (4) aligns with the top of the drill bushing.
For the shallower cylinder head bolt holes, rotate the tap until the lower mark on the tap (1) aligns with the top of the drill bushing.
12. Remove the fixture plate (2), bushing (3), and bolts.
3. Using compressed air, clean out any chips.
14. Spray cleaner GM P/N 12346139, P/N 12377981, or equivalent into the hole.
15. Using compressed air, clean any cutting oil and chips out of the hole.

Important: Do not allow oil or other foreign material to contact the outside diameter (OD) of the insert.
16. Lubricate the threads of the installer too[ (2) with the driver oil (1).

17. Install the insert (2) onto the driver tool (1).

18. Apply threadlock Loctite 277, J 42385-109 (1), or equivalent to the insert OD threads (2).

19. Install the insert and driver (1) into the hole. Rotate the driver tool until the mark on the tool aligns with the deck surface of the engine block. The installer tool will tighten up before screwing completely through the insert. This is acceptable. You are forming the bottom threads of the insert and mechanically locking the insert to the base material threads.