38. Piston and Connecting Rod Assemble
Piston and Connecting Rod Assemble- Tools Required
- J 24086-C Piston Pin Remover/installer Set
- J 24086-10 Piston Pin Remover/Installer Base
- J 24086-9 Adjustable Installer
Important: Assemble the piston for the specific cylinder with the connecting rod for the corresponding crankshaft journal. The piston and connecting rod MUST be assembled properly.

1. Install fork insert J 24086-920A into fixture J 24086- 10.

Caution: Avoid contact with HOT components. Wear safety glasses and protective gloves to avoid personal injury.
Notice: Applying excessive heat to the connecting rod may damage or distort the rod. Rod temperature SHOULD NOT exceed 315°C (600°F). At this temperature the end of the connecting rod will turn a straw color upon visual inspection.
2. Use a torch and apply MILD heat to the pin end of the connecting rod.
Mild heating of the connecting rod will ease in piston and pin assembly.
3. With the piston and connecting rod properly assembled, both the flat flange area of the connecting rod and the alignment mark on the top of the piston will be facing the front of the engine.

4. Assemble the piston, connecting rod and adapter J 24086-16A and install onto fixture J24086-10.

5. Adjust installation pin J 24086-9 to 1-8.

Notice: After the installer hub bottoms on the support assembly, do not exceed 35,000 kPa (5,000 psi) pressure, this could cause damage to the tool.
6. Insert pin J 24086-9 through fixture J24086-10 and to the piston pin.
7. Press pin J 24086-9 until the installer bottoms on fixture J 24086-10.

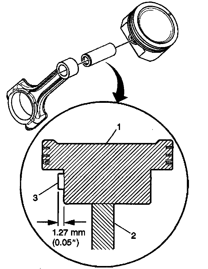
8. Measure the piston (1), pin (3), and connecting rod (2) for proper assembly.
8.1. Place the piston and connecting rod assembly onto a table or other flat surface.
Lay the flat top of the piston (1) onto the table surface.
8.2. Slide the connecting rod (2) and pin (3) to one side and hold firmly against the inside of the piston (1).
8.3. Measure the pin (3) for proper installation.
A properly installed piston pin should protrude 1.27 mm (0.05 inch) from the side of the piston.

Important: When installing the piston rings onto the piston, use a ring expanding plier type tool. Do not roll the piston rings into the grooves of the piston.
Use caution and care to expand the piston rings only slightly larger than the Outside Diameter (OD) of the piston.
9. Using piston ring pliers, install the piston rings onto the piston.
9.1. Install the oil control ring spacer in the groove.
9.2. Install the lower oil control ring.
The oil control rings do not have a dimple or orientation mark and may be installed in, either direction.
9.3. Install the upper oil control ring.
9.4. Stagger the three oil control ring end gaps a minimum of 90 degrees.
9.5. Using piston ring pliers, install the lower compression ring.
The lower compression ring has a dimple or orientation marking must face the top of the piston.
9.6. Using piston ring pliers, install the upper compression ring.
The upper compression ring does not have a dimple or orientation mark and may be installed in either direction.
9.7. Stagger the compression ring end gaps a minimum of 25 mm (1.0 inch).