Body and Frame: Service and Repair
Damaged Cage Nut Service
Removal Procedure
Caution: Refer to Battery Disconnect Caution.
1. Remove the battery ground (negative) cable.

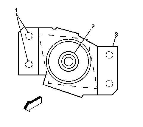
2. Remove the frame bolt (2) from the frame crossmember nut.

Important: The frame crossmember nut retainer will be reused if not damaged from the stripped out bolt.
3. Break away the spot welds (1) on one side of the frame crossmember nut retainer with an air chisel.
4. Lift one side of the frame crossmember nut retainer (enough to remove the frame crossmember nut).
5. Remove the frame crossmember nut.
Installation Procedure

1. Install the frame crossmember nut (2).

2. Install the lower frame crossmember nut retainer into place to ensure proper placement and working condition of the frame crossmember nut.
3. Install the spot weld (3) frame crossmember nut retainer in the original location.
4. Clean and prepare the welded surfaces.
Notice: Refer to Fastener Notice.
5. Install the new frame bolt to the frame crossmember nut.
Tighten the bolt to 180 N.m (133 lb ft).
6. With a pressure pot apply the anticorrosion compound GM P/N 12346225 or equivalent and coat the inside of the repair area through any access hole thoroughly.
7. Connect the battery ground (negative) cable.