Driveline Working Angles Measurement
Driveline Working Angles Measurement
Tools Required
* J 23498-A Driveshaft Inclinometer
* J 23498-20 Driveshaft Inclinometer Adapter

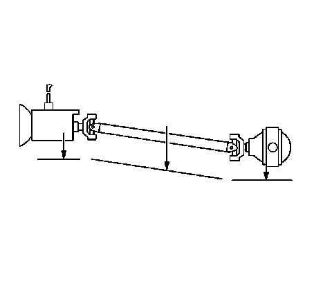
The working angle of a U-joint is formed by the difference between the angles of two shafts that intersect. One-piece propeller shaft systems have two working angles; front (1) and rear (2).
* The front working angle (1) is formed by the intersection of the transmission output shaft and the propeller shaft.
* The rear working angle (2) is formed by the intersection of the propeller shaft and the drive axle pinion.
Two-piece systems contain three working angles.
When measuring and evaluating driveline working angles, observe the following:
* The two working, or cancelling angles should be equal to each other within 1/2 degree to provide effective cancellation of the U-joints.
* Two-piece systems contain an odd, or non-cancelled angle - the front angle - that should be between 1/10 and 1/2 degree.
* No working angle should exceed 4 degrees.
* No working angle should be equal to zero. An angle of 0 degrees will cause premature U-joint wear due to a lack of rotation of the needle bearings in the U-joint.
* Always orientate the J 23498-A so that it faces the same side of the vehicle for each measurement taken.

* Be sure to accurately record the measurements taken on a diagram, similar to the one shown.
Measurement Procedure
Important: If it is necessary to use the J 23498-20 adapter, first verify the accuracy of the J 23498-20 by inspecting the angle of an accessible joint using the J 23498-A, then inspecting the same joint angle using the J 23498-20.
1. Raise and support the vehicle. Ensure that the drive axle is supported at ride height - vehicle body supported by suspension components - with the wheels free to rotate. Refer to Vehicle Lifting.
2. For two-piece propeller shaft systems, inspect the lateral alignment of the propeller shafts before proceeding.
1. From underneath the propeller shafts, look down the length of the shafts from front to rear. Inspect the alignment of the shafts to each other.
2. From underneath the shafts, if the propeller shafts are not aligned to each other in a straight line, then the lateral alignment of the propeller shafts needs to be adjusted before proceeding.
The propeller shaft support bearing assembly can be relocated slightly to one side in order to improve the alignment of the shafts. Ensure that you do not create a ground-out condition against the exhaust or any other component.
3. Place the transmission in NEUTRAL.
4. Ensure that the vehicle has a full tank of fuel or the equivalent amount of weight in the rear to simulate a full tank. The weight of 3.8 L (1 gal) of gasoline is approximately 2.8 kg (6.2 lb).
5. Clean any corrosion or foreign material from the U-joint bearing caps.
6. Remove any of the U-joint bearing cap snap rings that may interfere with the correct placement of the J 23498-A.

7. Measure the angle of the drive axle pinion.
1. Rotate the drive axle pinion to align the pinion yoke flanges vertically.
2. Install the J 23498-A to the lower U-joint bearing cap of the drive axle pinion.
3. Using the J 23498-A, measure and record the angle of the drive axle pinion.

8. For one-piece systems, measure the angle of the transmission output shaft yoke.
1. Do not rotate the propeller shaft. With the propeller shaft in the same position, the transmission output shaft yoke flange will be aligned vertically.
2. Install the J 23498-A to the lower U-joint bearing cap of the transmission output shaft yoke.
3. Using the J 23498-A, measure and record the angle of the transmission output shaft yoke - one-piece system.

9. For two-piece systems, measure the angle of the front propeller shaft.
1. Do not rotate the propeller shafts. With the propeller shafts in the same position, the U-joints of the front propeller shaft will be aligned vertically.
2. Install the J 23498-A to the lower U-joint bearing cap of either of the U-joints on the front propeller shaft.
3. Using the J 23498-A, measure and record the angle of the front propeller shaft - two-piece system.
10. Rotate the propeller shaft, or shafts 1/4 turn.
11. For one-piece systems, measure the angle of the front propeller shaft.
1. Do not rotate the propeller shaft. With the propeller shaft in this position, the U-joints of the front propeller shaft will be aligned vertically.
2. Install the J 23498-A to the lower U-joint bearing cap of either of the U-joints on the front propeller shaft.
3. Using the J 23498-A, measure and record the angle of the front propeller shaft - one-piece system.

12. For two-piece systems, measure the angle of the transmission output shaft yoke.
1. Do not rotate the propeller shafts. With the propeller shafts in this position, the transmission output shaft yoke flanges will be aligned vertically.
2. Install the J 23498-A to the lower U-joint bearing cap of the transmission output shaft yoke.
3. Using the J 23498-A, measure and record the angle of the transmission output shaft yoke - two-piece system.
13. Remove the J 23498-A.
14. Install any U-joint bearing cap snap rings that were removed prior to installing the J 23498-A.
15. Calculate the working angles at each intersection of two shafts.
Subtract the larger number from the smaller to obtain the working angle. For example: If the drive axle pinion has an angle of 16 degrees and the connecting propeller shaft has an angle of 13 degrees, then the working angle of that intersection is 3 degrees.
16. Compare the working angles of cancelling U-joints, beginning at the rear-most position.
17. If the working angles of two cancelling U-joints are not within 1/2 degree of each other, or if one or both of the angles exceed 4 degrees, then the angle requires adjustment.
18. For two-piece systems, if the working angle of the non-cancelling, front U-joint is not between 1/10-1/2 degree, then the angle requires adjustment.