Rear Bumper: Service and Repair
Rear Bumper Replacement
Removal Procedure

1. Disconnect the license plate lamp harness.

2. Remove the impact bar nut (1).
3. Remove the plate nuts (2).
4. Remove the lower frame rail to bracket bolt (3).
5. Remove the side frame rail to bracket bolt (4).

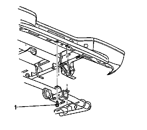
6. Remove the rear trailer hitch to bumper bolts (1), if equipped.
7. Remove the rear bumper from the vehicle.
Installation Procedure
1. Position the rear bumper onto the vehicle.

2. Install the rear trailer hitch to bumper bolts (1), if equipped.

Notice: Refer to Fastener Notice.
3. Install the impact bar nut (1).
Tighten the impact bar nut (1) to 50 N.m (37 lb ft).
4. Install the plate nuts (2).
Tighten the plate nuts (2) to 90 N.m (66 lb ft).
5. Install the lower frame rail to bracket bolt (3).
Tighten the lower frame rail to bracket bolt (3) to 100 N.m (74 lb ft).
6. Install the side frame rail to bracket bolt (4).
Tighten the side frame rail to bracket bolt (4) to 40 N.m (30 lb ft).
7. Install the bumper step pad.

8. Install the license plate lamp harness.