Operation CHARM: Car repair manuals for everyone.

Deployment Outside Vehicle

Deploy inflator modules outside of the vehicle when the vehicle will be returned to service. Situations that require deployment outside of the vehicle include the following:
^ Using the SIR diagnostics, you determine that the inflator module is malfunctioning.
^ The inflator module is cosmetically damaged (scratched or ripped).
^ The inflator module pigtail (if equipped) is damaged.
^ The inflator module connector is damaged.
^ The inflator module connector terminals are damaged.

Deployment and disposal of a malfunctioning inflator module is subject to any required retention period.

CAUTION: Refer to SIR Inflator Module Disposal Caution in Service Precautions.

TOOLS REQUIRED
^ J 38826 SIR Deployment Harness
^ J 39401-B SIR Deployment Fixture
^ An appropriate pigtail adaptor

1. Turn OFF the ignition.
2. Remove the ignition key.
3. Put on safety glasses.
4. Remove the inflator module.

CAUTION: Refer to SIR Inflator Module Handling and Storage Caution in Service Precautions.




5. Place the inflator module with the vinyl trim cover facing up and away from the surface on a work bench, floor or deployment fixture.




6. Clear an area on the floor approximately 1.85 m (6 ft) in diameter for deployment of the inflator module. If possible, use a paved, outdoor location free of activity. Otherwise, use an area free of activity on the shop floor. Make sure you have sufficient ventilation.
7. Make sure no loose or flammable objects are in the area.
8. When deploying a steering wheel module, place the steering wheel module in the center of the cleared area.




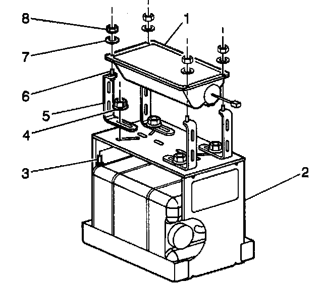
9. When deploying an IP module refer to the following instructions:
^ Place the J 39401-B (2) in the center of the cleared area.
^ Fill the deployment fixture (2) with water or sand.
^ Mount the IP module (1) in the deployment fixture (2) with the vinyl/plastic trim facing up.
^ To mount, use 4 M 6 bolts (6), nuts (8), and washers (7) to properly secure the IP module (1) to the deployment fixture (2).
^ Tighten all fasteners prior to deployment.




10. When deploying a side impact module, refer to the following instructions:
^ Place the J 39401-B SIR deployment fixture (3) in the center of the cleared area.
^ Fill the deployment fixture (3) with water or sand.
^ Mount the side impact module (1) in the deployment fixture (3) with the vinyl/plastic trim facing up.
^ Adjust and secure the J 39401-B arms (4) to the deployment fixture (3).
^ To mount, use 2 M 6 x 1.0 nuts (2) with washers to secure the side impact module (1) to the deployment fixture arms (4).
^ Tighten all fasteners prior to deployment.




11. Inspect the J 38826 SIR deployment harness and the appropriate pigtail adapter for damage. Replace as needed.
12. Short the 2 SIR deployment harness (1) leads together using one banana plug seated into the other.
13. Connect the appropriate pigtail adapter (2) to the SIR deployment harness (1).




14. Extend the SIR deployment harness and adapter to full length from the deployment fixture.




15. Connect the inflator module (1) to the adapter (2) on the SIR deployment harness (3).

IMPORTANT:
^ The rapid expansion of gas involved with deploying an inflator module is very loud. Notify all people in the immediate area that an inflator module will be deployed.
^ When the inflator module deploys, the deployment fixture may jump vertically. This is a normal reaction of the inflator module due to the force of the rapid expansion of gas inside the inflator module.

16. Clear the area of people.




17. Separate the 2 banana plugs on the SIR deployment harness.




18. Place a 12 V minimum/2 A minimum power source (i.e. vehicle battery) near the shorted end of the SIR deployment harness.
19. Connect the SIR deployment harness wires to the power source. Inflator module deployment will occur when contact is made.
20. Disconnect the SIR deployment harness from the power source




21. Seat 1 banana plug into the other in order to short the deployment harness leads.

CAUTION: Refer to SIR Deployed Inflator Modules Are Hot Caution in Service Precautions.

22. If the inflator module did not deploy disconnect the adapter and discontinue the procedure. Contact the Technical Assistance Group for further assistance. Otherwise, proceed to the following steps.




23. Put on a pair of shop gloves.
24. Disconnect the pigtail adapter from the inflator module as soon as possible.
25. Dispose of the deployed inflator module through normal refuse channels.
26. Wash hands with a mild soap.