Selectable Ride
Removal Procedure

1. Remove the instrument panel trim bezel. Refer to Bezel Replacement - IP Cluster in Instrument Panel, Gauges and Warning Indicators.
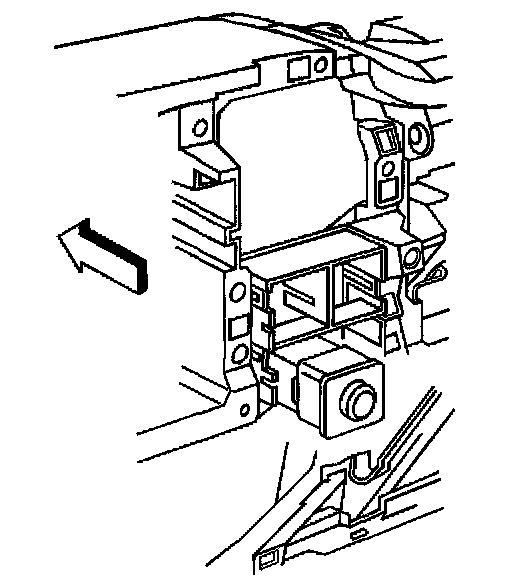
2. Remove the switch from the lower opening of the switch plate panel.
3. Disconnect the electrical connector.
Installation Procedure

1. Connect the electrical connector.
2. Install the switch into the lower opening of the switch plate panel.
3. Install the instrument panel trim bezel. Refer to Bezel Replacement - IP Cluster in Instrument Panel, Gauges and Warning Indicators.