Rack Piston and Worm Shaft Replacement
- Tools Required
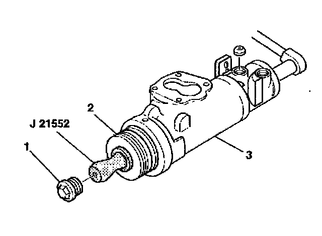
- J 21552 Rack Piston Arbor
- J 8947 Rack Piston Teflon Ring Compressor
Disassembly Procedure
Important: Do not remove the needle bearing when removing the pitman shaft arm and its components.

1. Remove the pitman shaft seals and bearing. Refer to Pitman Shaft Seals and Bearing Replacement - Off Vehicle.
2. Remove the housing end plug. Refer to Steering Gear Housing End Plug Replacement - Off Vehicle.
3. Turn the stub shaft counterclockwise until the rack piston (2) begins to come out of the steering gear housing (3).
4. Remove the rack piston plug (1).
5. Insert J 21552 into the bore of the rack piston (2).
6. Hold J21552 tightly against the worm shaft while turning the stub shaft counterclockwise. Turning the stub shaft forces the rack piston (2) onto J 21552. The rack piston balls remain in place.

7. Remove the following items as an assembly from the steering gear housing (9):
- The rack piston (4)
- The rack piston screws (8), clamp (7), ball guide (6) and balls (5)
- J 21552
8. Remove the spool valve assembly. Refer to Steering Gear Valve Replacement - Off Vehicle.
9. Remove the worm shaft (14).
10. Remove the thrust bearing (12) and the flat races (11) (13).
Important: When removing J 21552, watch for falling piston balls (5) from inside the rack piston (4).
11. Remove J 21552 from the rack piston (4). Remove the rack piston balls (5).
12. Remove the following items from the rack piston (4):
12.1. The screws (8)
12.2. The clamp (7}
12.3. The ball guide (6)
12.4. The remaining rack piston balls (5) in the ball guide (6)
13. Remove the teflon ring (2).
14. Remove the O-ring seal (3).
15. Clean all of the disassembled parts.
16. Inspect all of the disassembled parts for wear.
17. Replace the parts if necessary.
Assembly Procedure

1. Install the O-ring seal (3) and the teflon ring (2).
2. Lubricate both parts with power steering fluid.
3. Install the worm shaft (14) to the rack piston (4) outside of the steering gear housing (9). Fully seat the worm shaft to the rack piston.

4. Align the worm shaft spiral groove with the rack piston ball return guide hole (1).
Important: Improper rack piston ball installation may result in personal injury. The black rack piston balls are smaller than the silver rack piston balls. Install the black and the silver rack piston balls alternately into the rack piston and the ball guide to maintain the rack piston to the worm shaft preload.
5. Lubricate the rack piston balls with power steering fluid.
6. Insert the rack piston balls through the ball return guide hole (1) while turning worm shaft (2) counterclockwise in order to install the rack piston balls into the rack piston.

7. Install the remaining rack piston balls (3) into the ball guide (1) using grease at each end (2) to retain the rack piston balls (3).

8. Install the ball guide (3) to the rack piston (2).
9. Install the ball guide clamp (4).
Notice: Refer to Fastener Notice in Service Precautions.
10. Install the screws (5).
- Tighten the screws (5) to 58 Nm (43 ft. lbs.).
11. Insert J. 21552 into the bore of the rack piston while turning the worm shaft counterclockwise. The turning of the worm shaft forces the rack piston onto J 21552. The rack piston balls remain in place.

12. Install the flat races (2) (4) and the thrust bearing (3) onto the worm shaft (1).

13. Install the worm shaft (4) to the steering gear housing (3).
Important: Do not adjust the worm shaft until all components are installed onto the steering gear housing.
14. Install the spool valve. Refer to Steering Gear Valve Replacement- Off Vehicle.
15. Install the rack piston (2) to the worm (4) from J 21552 using -/8947 to compress the seals.
16. Hold J 21552 tightly against the worm shaft (4).
17. Turn the stub shaft clockwise until the rack piston (2) is seated on the worm shaft (4).
18. Remove J21552from the rack piston (1).
19. Install the rack piston plug (1).
- Tighten the rack piston plug to 150 Nm (111 ft. lbs.).
20. Install the housing end plug. Refer to Steering Gear Housing End Plug Replacement - Off Vehicle.
Important: Do not adjust the pitman shaft until all components are installed onto the steering gear housing.
21. Install the pitman shaft seals and bearing. Refer to Pitman Shaft Seals and Bearing Replacement - Off Vehicle.
22. To adjust the steering gear; refer to:
22.1. Worm Thrust Bearing Preload Adjustment - Off Vehicle.
22.2. Pitman Shaft Over-Center Preload Adjustment- Off Vehicle.