Steering Column
- Tools Required
- J 42640 Steering Column Lock Pin
Removal Procedure

Notice: Once the steering column is removed from the vehicle, the column is extremely susceptible to damage. Dropping the column assembly on its end could collapse the steering shaft or loosen the plastic injections that maintain column rigidity. Leaning on the column assembly could cause the jacket to bend or deform. Any of the above damage could impair the columns collapsible design. If it is necessary to remove the steering wheel, refer to Steering Wheel. Under no condition should the end of the shaft be hammered on, as hammering could loosen the plastic injections which maintain column rigidity.
Notice: The front wheels of the vehicle must be maintained in the straight ahead position and the steering column must be in the LOCK position before disconnecting the steering column or intermediate shaft. Failure to follow these procedures will cause improper alignment of some components during installation and result in damage to the SIR coil assembly.
Caution: Refer to SIR Caution in Service Precautions.
1. Disable the Supplemental Inflatable Restraint (SIR) system. Refer to Disabling the SIR System in Restraint Systems.
2. Remove the knee bolster. Refer to Knee Bolster Replacement in Instrument Panel, Gauges and Warning Indicators.
3. Lock the steering column through the access hole in the lower steering column trim cover using the J 42640.

4. Remove the body control module bracket. Do not disconnect the harness from the body control module. Refer to Body Control Module Replacement in Powertrain Management.
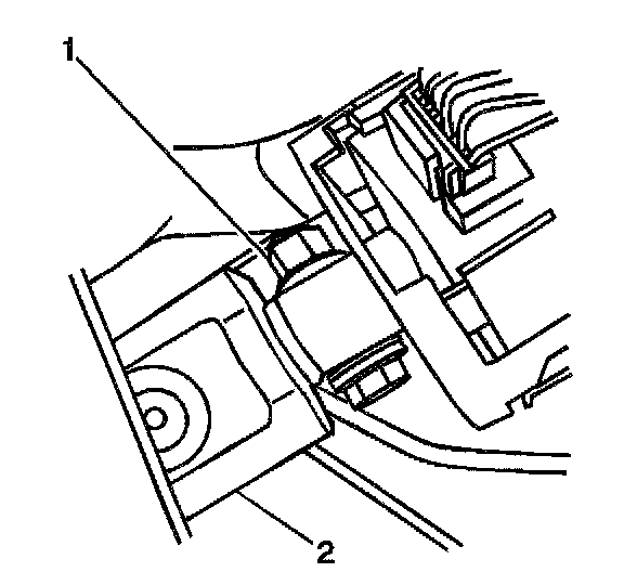
5. Disconnect the transmission shift cable (1) from the column.

6. Disconnect the steering column electrical connectors.

Notice: During removal of the steering column the wire harness retaining clip must be removed and reinstalled after installing the steering column or damage may occur to the wire harness.
7. Remove the wiring harness retaining pin (4) from the instrument panel.

8. Remove the upper intermediate shaft pinch bolt (1) from the steering column and remove the shaft from the steering column.

9. Remove the nuts (1) from the knee bolster deflector.

10. Remove the nuts from the upper support brackets.
11. Remove the steering column from the vehicle.
Installation Procedure
Caution: In order to ensure the intended function of the steering column in a vehicle during a crash and in order to avoid personal injury to the driver, perform the following:
- Tighten the steering column lower fasteners before you tighten the steering column upper fasteners. Failure to do this can damage the steering column.
- Tighten the steering column fasteners to the specified torque. Overtightening the upper steering column fasteners could affect the steering column collapse.

1. Install the steering column to the vehicle.
Notice: Refer to Fastener Notice in Service Precautions.
2. Install the nuts to upper support brackets.
- Tighten the nuts to 30 Nm (22 ft. lbs.).

3. Install the nuts (1) retaining the knee bolster deflector to the instrument panel.
- Tighten the retaining nuts to 9 Nm (80 inch lbs.).

4. Connect the steering column electrical connectors.

5. Install the wiring harness retaining (4) pin to the instrument panel.

6. Connect the transmission shift cable (1) to the steering column.
7. Install the body control module bracket. Refer to Body Control Module Replacement in Powertrain Management.
8. Install the knee bolster. Refer to Knee Bolster Replacement in Instrument Panel, Gauges and Warning Indicators.
9. Enable the Supplemental Inflatable Restraint (SIR) system. Refer to Enabling the SIR System in Restraint Systems.

10. Remove the J 42640 from the steering column.