Shift Lever - Disassemble

1. Remove the upper and lower shrouds. Refer to Steering Column Trim Covers - Disassemble - Off Vehicle.
Important: The abrasion sleeve located on the steering column wire harness assembly must be reinstalled. Make note of what connector (electronic lock module assembly) is coming out of the middle of the abrasion sleeve for installation purposes.
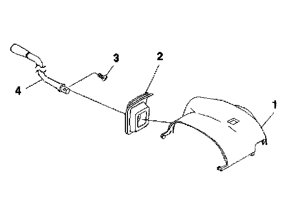
2. Move the shift lever seal (2) up the shift lever (4).
3. Remove the shift lever screw (3).
4. Remove the shift lever assembly (4).
5. Remove the shift lever seal (2) from the shift lever assembly (4).