Steering Shaft, Lower Bearing & Jacket - Disassemble
- Tools Required
- J 21854-01 Pivot Pin Remover

1. Remove the electronic lock module assembly. Refer to Electronic Column Lock Module - Disassemble - Off Vehicle.
2. Remove the tilt spring only. Refer to Tilt Spring - Disassemble - Off Vehicle.
3. Inspect the steering column for accident damage.
4. Remove the adapter and bearing assembly (1) from the steering shaft assembly.

5. Remove the 2 pivot pins (3) from the steering column tilt head assembly (1) by using J 21854-01.

6. Install the tilt knob into the steering column tilt head assembly (1).
7. Pull back on the tilt knob and at the same time pull the steering column tilt head assembly (1) down and away from the steering column.
8. Remove the steering column tilt head assembly (1)with the steering shaft assembly from the steering column support assembly (2).
9. Remove the tilt knob.

10. Remove the steering shaft assembly (2) from the steering column tilt head assembly (1).

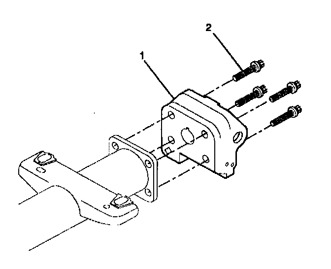
11. Remove the 4 TORX head screws (2) from the steering column support assembly (1).
12. Discard the 4 TORX head screws.
13. Remove the steering column support assembly (1) from the steering column jacket assembly.