Turn Signal & Multifunction Switch - Disassemble

1. Remove the upper and lower trim covers. Refer to Steering Column Trim Covers - Disassemble - Off Vehicle.
Important: The abrasion sleeve located on the steering column wire harness assembly must be reinstalled. Make note of what connector (electronic lock module assembly) is coming out of the middle of the abrasion sleeve for installation purposes.
2. Remove the wire harness assembly (1) from the wire harness strap 2.
3. Disconnect the turn signal and multifunction switch assembly connector from the inflatable restraint steering wheel module coil connector.

4. Slide the 2 connectors (2) of the turn signal and multifunction switch assembly out of the bulkhead connector (1).

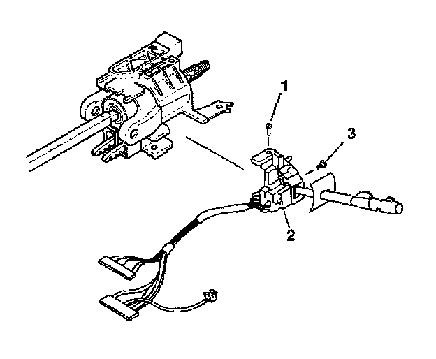
5. Remove the 2 pan head tapping screws (1) and (3) from the turn signal and multifunction switch assembly (2).
6. Remove the turn signal and multifunction switch assembly (2) from the steering column tilt head assembly.