Electronic Column Lock Module - Disassemble - Export
- Tools Required
- J 42759 Ignition Switch Connector Release Tool

1. Remove the turn signal cancel cam, bearing thrust washer. Refer to Turn Signal Cancel Cam, Bearing Thrust Washer- Disassemble - Off Vehicle.
2. Remove the key alarm connector (1) from the electronic lock module assembly (2) in the following way:
2.1. Rotate the key alarm connector (1) 90°.
2.2. Pull the key alarm connector (1) out of the electronic lock module assembly (2).
2.3. Remove the passkey connector from the electronic lock module assembly (2).

3. Insert J 42759 into the electronic lock module and slide the ignition and key alarm switch assembly (2) out.
4. Let the ignition and key alarm switch assembly (2) hang freely.

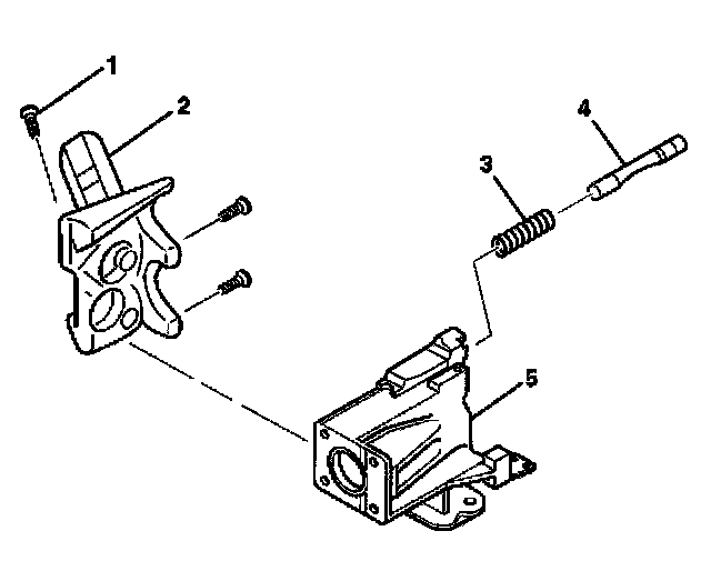
5. Remove the 3 pan head tapping screws (1) from the electronic lock module assembly (2).
Important: The lock bolt assembly (4) is under slight spring tension from the lock bolt spring (3). Hold the lock bolt (4) in place while removing the electronic lock module assembly (2).
6. Remove the electronic lock module assembly (2) and the lock bolt assembly (4) from the steering column housing assembly (5).
7. Remove the lock bolt spring (3) from the lock bolt assembly (4).