Electronic Column Lock Module - Assemble - Export
Assembly Procedure

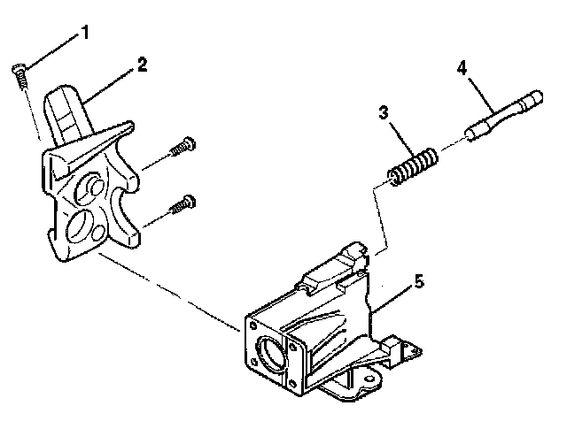
1. Install the lock bolt spring (3) into the steering column housing assembly (5).
2. Position the cutout in the lock bolt assembly (4) at the 6 o'clock position.
3. Install the lock bolt assembly (4) into the steering column housing assembly (5).
4. Push the lock bolt assembly (4) into the steering column housing assembly (5) until the lock bolt assembly (4) is flush with the steering column housing assembly (5).
5. Align the electronic lock module assembly (2) with the steering column housing assembly (5). Install the electronic lock module assembly (2) onto the steering column housing assembly (5).
Notice: Refer to Fastener Notice in Service Precautions.
6. Screw the 3 pan head tapping screws (1) into the electronic lock module assembly (2).
- Tighten the 3 pan head tapping screws to 7 Nm (62 inch lbs.).

7. Slide the ignition and key alarm switch assembly (3) into the electronic lock module assembly (1).

8. Install the key alarm connector (1) onto the electronic lock module assembly (2) in the following way:
8.1. Push the key alarm connector (1) into the electronic lock module assembly (2).
8.2. Rotate the key alarm connector 90 (1) degrees so that the key alarm connector locks into place.
8.3. Install the passkey connector into the electronic lock module assembly (2).
9. Install the turn signal cancel cam, bearing thrust washer. Refer to Turn Signal Cancel Cam, Bearing Thrust Washer- Assemble.