Operation CHARM: Car repair manuals for everyone.

Service Procedure

The following are instructions for installing support covers on the SECOND ROW rear seat head restraints. There are a total of four (4) covers to be installed (two per head restraint).

1. Open the rear side doors for access to the second row seat.

2. Release both rear seat cushions by pulling up on the strap loops located at the rear center of each seat cushion. Once released, continue pulling the seat cushion up and then fold it forward.

Caution
Keep fingers away from the pinch points when the head restraints fold rearward as the seatback is being lowered in the next step.

3. Raise both second row rear seat head restraints to the full up position and tilt both rear seatbacks forward.





4. Insert an awl or pointed tool into the small hole (1) in the retainer located at the bottom of the head restraint while slightly pulling upward on the restraint. Repeat this step on the second support of the head restraint.

5. Remove the head restraint.





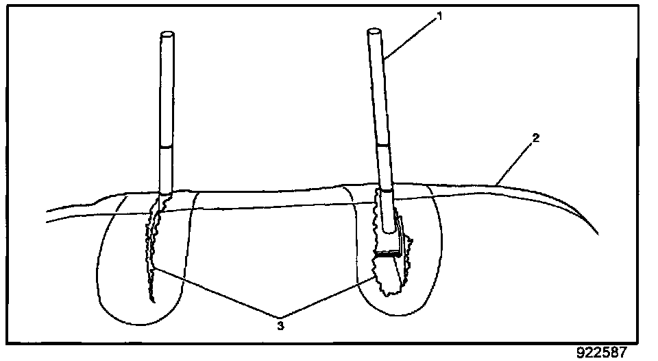
6. Raise the head restraint supports (1) to a vertical position and carefully open the slit (3) in the seatback fabric (2). The illustration shows the left slit being closed and the right slit when open.





7. Install one support cover (4) on the head restraint support (1) with the support going through the hole in the cover.





8. While holding the slit (3) in the seatback fabric open, begin sliding the cover down inside the seatback as shown.





9. When the support cover (4) is all the way down on the head restraint support (1), fold (tilt) the head restraint support rearward as shown.





10. With the head restraint support (1) folded rearward, finish inserting the support cover (4) inside the slit (3) in the seatback. Reposition the seatback fabric as necessary to close the slit in the fabric.

11. Install a support cover on the other head restraint support.

12. Install the head restraint on the supports and verify that the head restraint supports fold properly.

13. Repeat the above procedure on the other second row head restraint supports.

14. Return the seatbacks and cushions to their normal positions.

15. Install the GM Recall Identification Label.