Rear
Disc Brake Hardware Replacement - RearRemoval Procedure

1. Remove the disc brake caliper from the mounting bracket and support the brake caliper with heavy mechanic's wire, or equivalent. Do not disconnect the hydraulic brake flexible hose -from the caliper.
2. Remove the disc brake pads from the disc brake caliper bracket.
3. Remove the disc brake pad retainers from the disc brake caliper bracket.

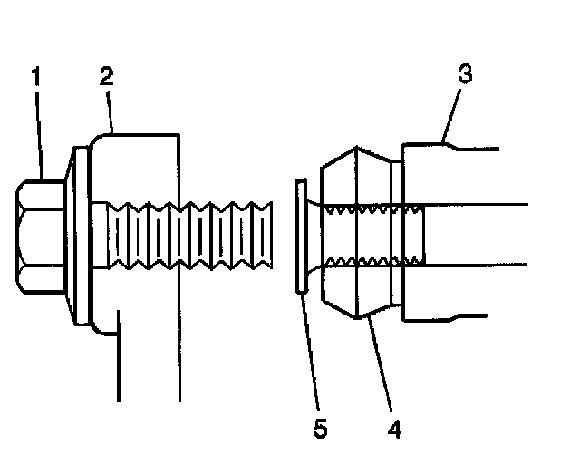
4. Remove the caliper pins (5) from the disc brake caliper mounting bracket (3).
5. Remove the caliper pin boots (4) from the disc brake caliper mounting bracket.
6. Inspect the disc brake hardware.
Installation Procedure

1. Install the caliper pin boots (4) to the disc brake caliper mounting bracket.
2. Install the caliper pins (5) to the disc brake caliper mounting bracket (3).
3. Install the disc brake pad retainers to the disc brake caliper bracket.
4. Install the disc brake pads to the disc brake caliper bracket.
5. Install the disc brake caliper to the mounting bracket.