3. Countershaft Disassemble
Countershaft Disassemble^ Tools Required
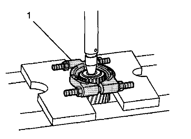
- J 44749 Split Plate Bearing Puller
Important:
^ Only remove the bearings if replacing the bearings. Do not reuse the bearings after removal.
^ You must also replace the race for the bearing being replaced.

1. Inspect the bearings for damage or wear.
2. Using a hydraulic press and the J44749 (1), remove the countershaft intermediate case bearing. Use the flat side of the J 44749 against the bearing.

3. Using a hydraulic press and the J 44749 (1), remove the bearing from the front of the countershaft.