2. Mainshaft Disassemble
Mainshaft Disassemble^ Tools Required
- J 21427-01 Speedometer Gear Puller Adapter
- J 22912-01 Split Plate Bearing Puller
- J 24420-C Harmonic Balancer Puller

1. If RWD vehicle, remove the main shaft bearing retainer.

2. Remove the following components from the mainshaft assembly:
^ The 2 shift forks (1)
^ The reverse idler gear (2)
^ The countershaft rear bearing (4)
^ The countershaft (3)

3. If RWD vehicle, using the J 21427-01 (2) and the J 24420-C (1), remove the speed sensor reluctor wheel from the rear of the main shaft. Do not reuse the reluctor wheel after removal.

4. If RWD vehicle, remove the mainshaft rear bearing retaining ring (1) and the mainshaft rear bearing (2).

5. Remove the mainshaft assembly from the input shaft.
Important: Leave the synchronizer ring on the 3rd/4th synchronizer assembly to prevent the synchronizer detent balls from popping out.

6. Remove the 4th gear synchronizer blocking ring and put on the 4th gear synchronizer assembly.
7. Remove the main shaft front bearing from the input shaft.
8. Remove the 3rd/4th gear synchronizer retaining ring.

9. Scribe an alignment mark on the synchronizer hub and the synchronizer sleeve in order to properly reassemble the synchronizer hub assembly.

Important: When removing the synchronizer hubs use the J 22912-01 under the gear for that synchronizer and not the synchronizer sleeve. Do not separate the synchronizer hub from the synchronizer sleeves. Leave the synchronizer rings with the synchronize assembly to prevent the synchronizer detent balls from popping out.
10. Using a hydraulic press and the J22912-01 remove the 3rd 4th speed gear synchronizer hub assembly, the third speed gear and the synchronizer rings.
11. Remove the synchronizer assembly from the third gear.

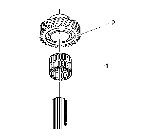
12. Remove the 3rd speed gear needle bearing assembly (1).

13. Remove the following components:
13.1. The 2nd speed gear 2-piece thrust washer
13.2. The retainer ring

14. Remove the following components:
14.1. The 2nd speed gear (1)
14.2. The 2nd speed gear needle bearing assembly (2)

15. Remove the 1st/2nd gear synchronizer retaining ring from the main shaft.

16. Remove the following components for the 2nd gear synchronizer:
16.1. The synchronizer cone
16.2. The blocker ring
16.3. The reaction cone
16.4. The interim ring
17. Scribe an alignment mark on the synchronizer hub and the synchronizer sleeve in order to properly reassemble the synchronizer hub assembly.

Important: When removing the synchronizer hubs use the J 22912-01 under the gear for that synchronizer and not the synchronizer sleeve. Do not separate the synchronizer hub from the synchronizer sleeves. Leave the synchronizer rings with the synchronize assembly to prevent the synchronizer detent balls from popping out.
18. Using a hydraulic press and the J 22912-01 remove the 1st/2nd speed gear synchronizer hub and the 1st speed gear.

19. Remove the following components:
19.1. The synchronizer cone (5)
19.2. The blocker ring (4)
19.3. The reactor cone (3)
19.4. The synchronizer interim ring (2)
19.5. The 1st speed gear (1)

20. Remove the 1st speed gear needle bearing assembly.

21. Turn the mainshaft over to work on the output end.
22. Remove the following components:
22.1. The 5th speed gear (3)
22.2. The 5th speed gear needle bearing assembly (1). The needle bearing is split in order to remove it over the collar.

23. Remove the retaining ring for the 5th/Reverse synchronizer hub from the mainshaft.

24. Scribe an alignment mark on the synchronizer hub and the synchronizer sleeve in order to properly reassemble the synchronizer hub assembly.
Important: When removing the synchronizer hubs use the J 22912-01 under the gear for that synchronizer and not the synchronizer sleeve. Do not separate the synchronizer hub from the synchronizer sleeves. Leave the synchronizer rings with the synchronize assembly to prevent the synchronizer detent balls from popping out.
25. Using a hydraulic press and the J22912-01 remove the 5th/Reverse speed gear synchronizer assembly and the reverse speed gear.

26. Remove the reverse speed gear needle bearing assembly (1).

27. Remove the reverse speed gear drag seal.

28. Remove the 5th speed gear drag seal.