Radiator Support: Description and Operation
Radiator Support Description

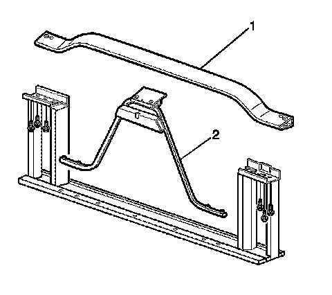
The radiator support assembly is made of aluminum alloy. You can repair minor damage with ER-4043 welding wire and 100 percent argon shielding gas. The upper tie-bar (1) and the vertical support (2) portion of the radiator support assembly are bolt-on components. The tie-bar and the vertical support (2) are available as part of the radiator support assembly, or can be ordered separately.