Hood Insulator / Pad: Service and Repair
Hood Insulator Replacement
Tools Required
J 38778 Door Trim Pad Clip Remover
Removal Procedure
1. Open the hood.
2. Disconnect the underhood lamp harness electrical connector from the lamp assembly.
3. Remove the lamp harness fasteners from the underhood.
4. Depress the tab in order to remove the underhood lamp assembly.

5. Use the J 38778 in order to disengage the push-in retainers.

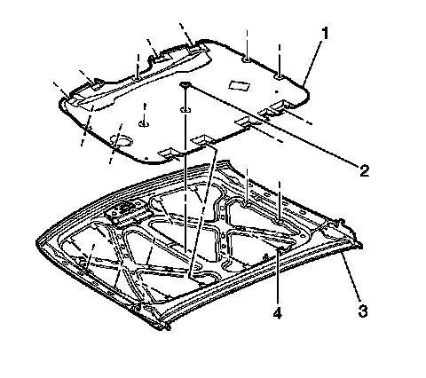
6. Gently pull on the hood insulator (1) in the center to slide out from behind the holding tabs (4). The insulator has a crease on the hood side to facilitate folding.
Installation Procedure
1. Position the insulator (1) to the rear hood (3) and fold at the center to position under the front holding tabs (4).

2. Install the retainers (2).
3. Install the underhood lamp assembly and press the assembly in order to attach.

4. Install the fasteners to the underhood lamp harness.
5. Connect the electrical connector to the underhood lamp assembly.
6. Close the hood.