Hinge Replacement - Front Door - Door Side
REMOVAL PROCEDURE
1. Remove all related panels and components.
2. Remove any excess sealer surrounding the existing hinge and scribe the location of the hinge on the hinge pillar.
3. Lightly hand-sand the existing hinge with 100 grit or finer sandpaper in order to locate the 4 welds that attach the hinge to the pillar.
IMPORTANT: Punch the center of the weld so that as much of the weld as possible is removed during the drilling.

4. Center punch each of the 4 weld marks on the original hinge base.
IMPORTANT: Do not drill into the door (1).
5. Drill through the hinge base (2) only, at each punch location. Use a 13 mm (1/2 in) rotabroach hole saw (3) or equivalent.
6. Remove the hinge. If necessary, use a chisel in order to separate the hinge from the door.
7. Remove all of the remaining weld from the door surface in order to ensure a flush fit of the service hinge.
INSTALLATION PROCEDURE

1. Repair any damage done to the door during the drilling or the removal of the hinge.
2. Clean and prepare the backing plate mounting surfaces in order to ensure a flush fit of the backing plate.
3. Position the service hinge within the scribe marks on the door.
4. Center punch each hole location on the door according to the service hinge.
5. Drill a 3 mm (1/8 in) pilot hole at each center punch location.
IMPORTANT: Drill must be exact size.
6. Drill an 11.5 mm (29/64 in) hole at the pilot locations.

7. Clean and prepare all of the bare metal surfaces.
IMPORTANT: Prior to refinishing, refer to the publication GM 4901 M-D-2000 GM Approved Refinish Materials for recommended products. Do not combine paint Systems. Refer to paint manufacturer's recommendations.
8. Apply approved anti-corrosion primer.
9. Apply a full-bodied caulk to the entire hinge mounting surface in order to ensure a proper seal.
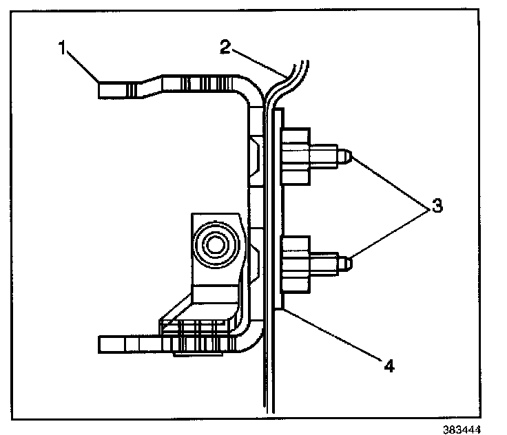
10. Align the hinge (1) and the backing plate (4) with the holes in the door (2).
NOTE: Refer to Fastener Notice in Service Precautions.
11. Align the hinge (1) and the backing plate (4) with the holes in the door (2) and install the bolts (3).
Tighten
Tighten the bolts to 25 N.m (18 lb ft).
12. Apply the sealers.
13. Refinish the metal surfaces as necessary.
14. Install and align all of the related panels and the components.