Front Side Door Hinge Replacement - Body Side
Front Side Door Hinge Replacement - Body Side
Removal Procedure

1. Remove all related panels and components.
2. Remove any excess sealer surrounding the existing hinge and scribe the location of the hinge on the hinge pillar.
3. Lightly hand-sand the existing hinge with 100 grit or finer sandpaper in order to locate the 4 welds that attach the hinge to the pillar.
Important: Punch the center of the weld so that as much of the weld as possible is removed during the drilling.
4. Center punch each of the 4 weld marks on the original hinge.

Important: Do not drill into the hinge pillar.
5. Drill through the hinge base only, at each punch location. Use a 13 mm (1/2 in) rotabroach hole saw or equivalent.
6. Remove the hinge. If necessary, use a chisel in order to separate the hinge from the pillar.
7. Remove all of the remaining weld from the pillar surface in order to ensure a flush fit of the service hinge.
Installation Procedure

1. Repair any damage done to the pillar during the drilling or the removal of the hinge.
2. Position the service hinge within the scribe marks on the pillar.
3. Center punch each stud location on the hinge pillar according to the service hinge.
4. Drill a 3 mm (1/8 in) pilot hole at each center punch location.
Important: Drill must be exact size.
5. Drill an 11.5 mm (29/64 in) hole at the pilot locations for the studs.
6. Clean and prepare all of the bare metal surfaces.
Important: Prior to refinishing, refer to the publication GM 4901M-D-2000 GM Approved Refinish Materials for recommended products. Do not combine paint systems. Refer to paint manufacturer's recommendations.
7. Apply approved anti-corrosion primer.

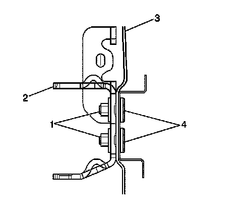
8. Feed fish wire (1), GM P/N 15017229 or the equivalent, through the hinge, the hinge stud hole and out of the conduit hole in the pillar.
9. Install stud (2), GM P/N 15017230, supplied with the service hinge into the wire end. Pull the stud into position.
10. Hold the stud in position with the hinge and remove the fish wire.
11. Draw the stud (4) tight through the pillar. Use the nuts GM P/N 11516746 supplied.
12. Repeat steps 8-11 on the remaining stud locations.
13. Remove each service nut.
14. Apply a full-bodied caulk to the entire hinge mounting surface in order to ensure a proper seal.

Notice: Refer to Fastener Notice in Service Precautions.
15. Install the hinge (2) to the pillar (3). Use the supplied nuts (1).
Tighten the hinge nuts (4) to 25N.m (18 lb ft).
16. Clean and prepare all of the surfaces a necessary for refinishing.
17. Apply the sealers.
18. Refinish the surfaces as necessary.
19. Install and align all of the related panels and the components.