Assist Step Replacement (Frame Mount)
Assist Step Replacement (Frame Mount)
Removal Procedure

1. With an assistant, remove the front retaining bolt (3) from the assist step.

2. With an assistant, remove the rear retaining bolt (2) from the assist step.
3. Remove the assist step from the vehicle.

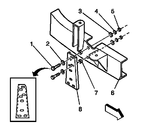
4. Remove the front bracket retainers (1), and remove the bracket (4) from the vehicle.

5. Remove the rear bracket retainers (1), and remove the bracket (8) from the vehicle.
Installation Procedure

Important: Prior to installing all bolts apply thread locker GM P/N 12345382.
Important: The left side may use a nut plate in place of the washers, and in place of the nuts.
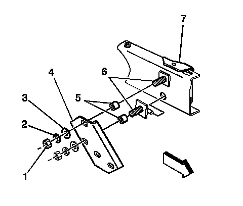
1. Install the rear bracket (8) with the following components:
1. The spacers (7)
2. The bolts
3. The washers
4. The lock washers
5. The nuts-Leave the fasteners hand-tightened at this time.

2. Install the front bracket hook bolts (6) with poly liners to the frame.
3. Install the spacers (5) to the hook bolts.
4. Install the front bracket with the following components:
1. The washers (3)
2. The lock washers (2)
3. The nuts (1)-Leave the fasteners hand-tightened at this time.

5. With an assistant, install the step to the vehicle.
6. With an assistant, install the following components to the rear assist step bracket:
1. The gasket (1)
2. The washer (4)
3. The lock washer (3)
4. The bolt (2)-Leave the fasteners hand-tightened at this time.

7. With an assistant, install the following components to the assist step:
1. The gasket (1)
2. The washer (5)
3. The lock washer (4)
4. The bolt (3)
Notice: Refer to Fastener Notice in Service Precautions.
8. Align step with rocker panel, and tighten the bolts.
Torque all fasteners to 81 N.m (60 lb ft).