Assist Step Replacement (Body Mount)
Assist Step Replacement (Body Mount)
Removal Procedure

1. Remove the following components from the vehicle:
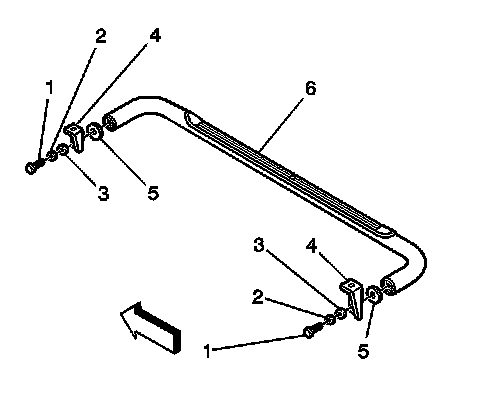
1. The center body mount bolt (1)
2. The lock washer
3. The washer
2. Remove the center lower body-cushion assemblies (4).
3. Remove the following components from the assist step:
1. The center bolt (2)
2. The lock washer
3. The washer
4. Remove the assist step center bracket (5).

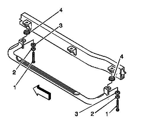
5. With an assistant, remove the following front components, and rear components:
1. The body mount bolts (1)
2. The lock washers (2)
3. The washers (3)
6. With an assistant, remove the assist step assembly from the vehicle.
7. Remove the lower body-mount cushion assemblies (4), front and rear, from the vehicle.

8. Remove the following components from the front assist step brackets, and from the rear assist step brackets:
1. The bolts (1)
2. The lock washers (2)
3. The washers (3)
9. Remove the front brackets, and the rear brackets (4) from the assist step.
10. Remove the front gaskets, and the rear gaskets (5) from the assist step.
Installation Procedure

Important: Apply thread locker GM P/N 12345382 to all bolt threads prior to assembly.
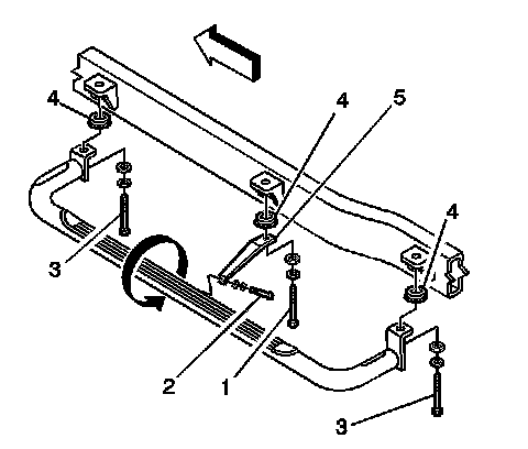
1. Install the front gaskets, and the rear gaskets (5) to the assist step.
2. Install the front brackets, and the rear brackets (4) to the assist step.
Notice: Refer to Fastener Notice.
3. Install the following components to the front assist step bracket, and the rear assist step bracket:
1. The washers (3)
2. The lock washers (2)
3. The bolts (1)
Torque the bolts to 90 N.m (66 lb ft).

4. Install the lower body-mount cushion assemblies (4), front and rear, to the vehicle.
5. With an assistant, raise the assist step to the vehicle.
6. With an assistant, install the following front components, and rear components:
1. The washers (3)
2. The lock washers (2)
3. The body mount bolts (1)
Torque the bolts to 90 N.m (66 lb ft).

7. Install (5) the assist step center bracket.
8. Install (2) the following components to the assist step:
1. The washer
2. The lock washer
3. The center bolt
Torque to 45 N.m (33 lb ft).
9. Install (1) the following components to the assist step:
1. The washer
2. The lock washer
3. The center body mount bolt
Torque to 90 N.m (66 lb ft).