66. Oil Pump Stator Shaft Bushing Replacement
Removal Procedure^ Tools Required
- J 21465-01 Bushing Service Set
- J 25019 Bushing Service Set
- J 7004-1 Universal Remover

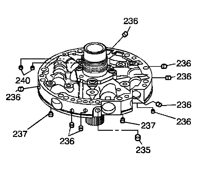
1. Inspect the pump cover, all check valve retainer and ball assemblies (237), cup plugs (235, 236) and orifice cup plugs (238, 240).

2. Inspect the pump cover for the following:
^ Worn or damaged bushings
^ Foreign material or debris
^ Porosity
^ Scored or irregular mating faces
^ Cross channel leaks
^ Ring groove damage

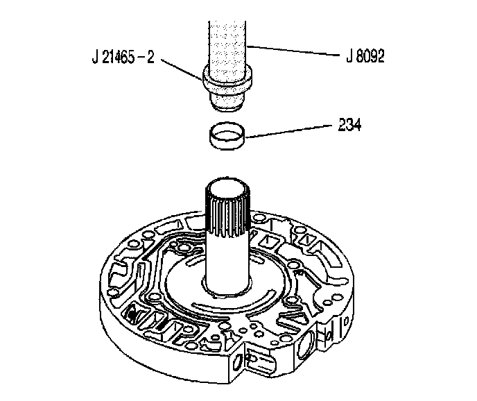
3. Using the J 21465-15 with the J 7004-1, remove the stator shaft front bushing (234).

4. Using the J 25019-14 with the J 7004-1, remove the stator shaft rear bushing (241).
Installation Procedure
^ Tools Required
- J 21465-01 Bushing Service Set
- J 25019 Bushing Service Set
- J 8092 Driver Handle

1. Using the J 21465-2 and the J 8092, install a new stator shaft front bushing (234).

2. Using the J 25019-6 and the J 8092, install the stator shaft rear bushing (241).