63. Oil Pump Body Bushing Replacement
Removal Procedure^ Tools Required
- J 41778-1 Pump Body Bushing Installer/Remover
- J 41778-2 Pump Body Bushing Position Stop

1. Inspect the oil pump body for the following defects:
^ Worn or damaged bushings
^ Foreign material or debris
^ Porosity
^ Scored or irregular mating faces
^ Cross channel leaks
^ Ring groove damage

2. Remove the front helix retainer (244).
3. Remove the oil seal assembly (243).

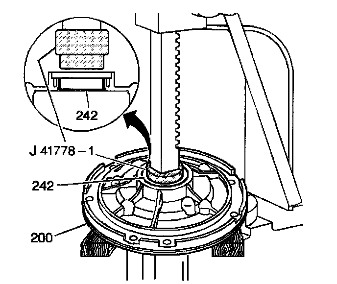
4. Using the J 41778-1 with an arbor press, remove the pump body bushing (242).

5. Using J 41778-1 with an arbor press, install a new pump body bushing (242).

6. Use the J 41778-2 to ensure proper bushing depth.