Steering Damper: Service and Repair
Steering Damper Replacement
- Tools Required
- J 24319-B Universal Steering Linkage Puller
- J 29193 Steering Linkage Installer (12 mm)
Removal Procedure

1. Raise the vehicle. Support the vehicle with safety stands. Refer to Vehicle Lifting.
2. Remove the engine protection shield, if equipped. Refer to Engine Protection Shield Replacement in Body and Frame.
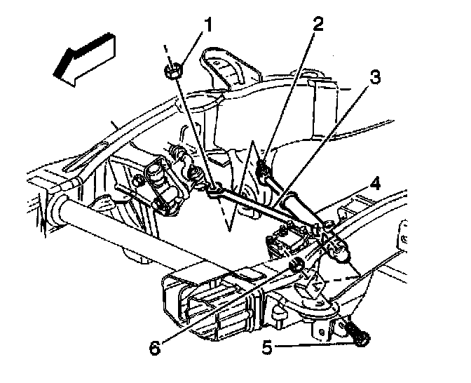
3. Remove the steering damper (2) ball stud nut (1). Do not reuse the nut.

4. Remove the steering damper ball stud from the relay rod using the J24319-B.

5. Remove the steering damper mounting bolt (5) and the nut (6). Do not reuse the nut.
6. Remove the steering damper (4) from the vehicle.
7. Inspect the following parts:
- The steering damper for leaks and damage
- The mounting bolts and the nuts for damage or corrosion
Installation Procedure

1. Install the steering damper (4).
2. Install the mounting bolt (5) and new prevailing torque nut (6).
3. Install the steering damper ball stud (2) to the relay rod (3).

Notice: Refer to Fastener Notice in Service Precautions.
4. Install the J29193. Tighten the steering linkage installer in order to seat the ball stud in the relay rod.
- Tighten the steering linkage installer to 54 Nm (40 ft. lbs.).
5. Remove the J29193.
6. Install the prevailing torque nuts.
- Tighten the mounting nut to 40 Nm (30 ft. lbs.).
- Tighten the ball stud nut to 62 Nm (46 ft. lbs.).
7. Install the engine protection shield, if equipped. Refer to Engine Protection Shield Replacement in Body and Frame.
8. Lower the vehicle.