Operation CHARM
: Car repair manuals for everyone.
Home
>>
GMC
>>
2001
>>
C 1500 Yukon 2WD V8-5.3L VIN T
>>
Repair and Diagnosis
>>
Transmission and Drivetrain
>>
Automatic Transmission/Transaxle
>>
Service and Repair
>>
Overhaul
>>
Repair Instructions
>>
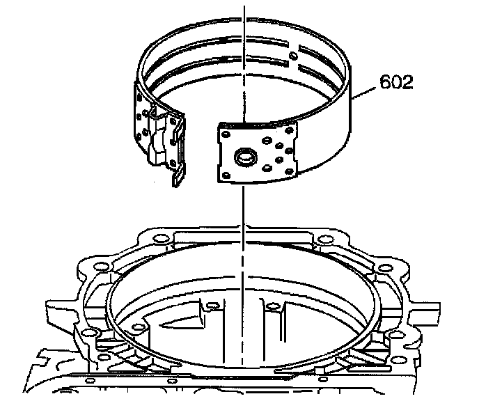
59. 2-4 Band Assembly Installation
59. 2-4 Band Assembly Installation
1.
Inspect the 2-4 band assembly (602) for damage or wear.
2.
Install the 2-4 band (602) into the case.
3.
Install the band anchor pin into the case.
4.
Index the band to fit the band anchor pin into the band.