Operation CHARM: Car repair manuals for everyone.

Steering Angle Sensor: Service and Repair


Steering Wheel Speed Sensor Replacement

Removal Procedure





1. Set the front wheels in the straight-ahead position. Set the steering wheel in the LOCKED position.

Caution: Refer to Battery Disconnect Caution in Service Precautions.

2. Disconnect the negative battery cable.
3. Disable the Supplemental Inflatable Restraint (SIR). Refer to Disabling the SIR System in Restraint Systems.
4. Remove the nut and the bolt from the upper intermediate shaft connection and remove the steering shaft. Refer to Intermediate Steering Shaft Replacement - upper in Steering Column - Tilt or Intermediate Steering Shaft Replacement - Upper in Steering Column - Standard. Slide the lower shaft down.
5. Remove the position sensor connector by using a suitable tool in order to pull the connector down around the right side of the steering column for accessibility.

Important: Do not apply force to the sensor and the bearing in a sideways direction.

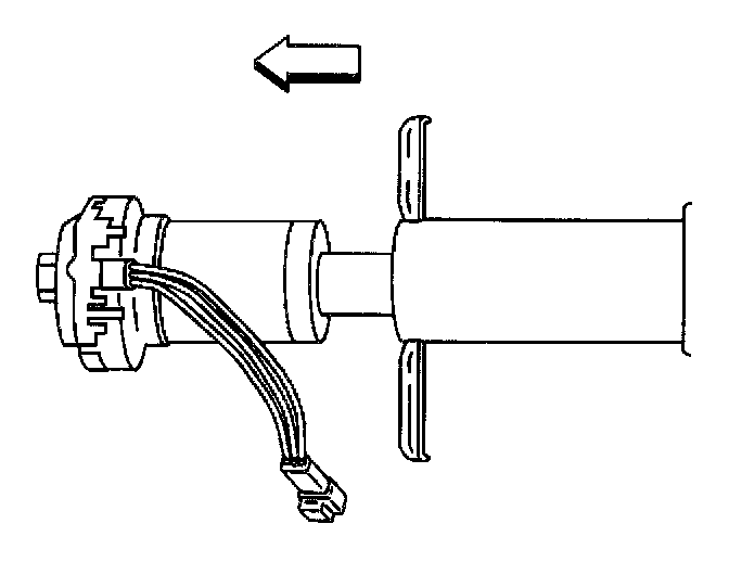
6. Remove the position sensor and bearing assembly from the steering column jacket by pulling the assembly straight out.
7. Remove the position sensor from the clips in the bearing assembly.


Installation Procedure





1. Install the position sensor into the bearing assembly.
2. Install the bearing into the steering column jacket.
2.1. Align the notches on the bearing and the column jacket.

Important: Do not apply force to the sensor and the bearing in a sideways direction.

2.2. Seat the bearing fully into the jacket.
3. Connect the position sensor connector.
4. Install the bolt and the nut to the upper end of the shaft. Refer to Intermediate Steering Shaft Replacement - Upper in Steering Column - Tilt or Intermediate Steering Shaft Replacement - Upper in Steering Column - Standard.
5. Connect the negative battery cable.
6. Enable the SIR system. Refer to Enabling the SIR System in Restraint Systems.