Pulley Removal and Installation
Power Steering Pulley Replacement
- Tools Required
- J 25034-C Power Steering Pump Pulley Remover
- J 25033-C Power Steering Pump Pulley Installer
Removal Procedure

1. Remove the upper fan shroud. Refer to Fan Shroud Replacement - Upper in Cooling Systems.
2. Remove the drive belt. Refer to Drive Belt Replacement in Engine.
3. Remove the power steering pump pulley using the J 25034-C.
Installation Procedure

1. Place the power steering pump pulley on the end of the power steering pump shaft.
2. Install the power steering pump pulley using J 25033-C.

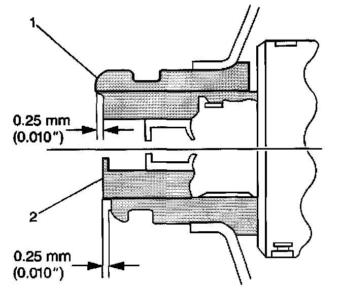
3. Ensure that the power steering pump pulley is flush against the power steering pump shaft, with an allowable variance of 0.25 mm (0.010 inch).
4. Install the drive belt. Refer to Drive Belt Replacement in Engine.
5. Install the upper fan shroud. Refer to Fan Shroud Replacement - Upper in Cooling Systems.