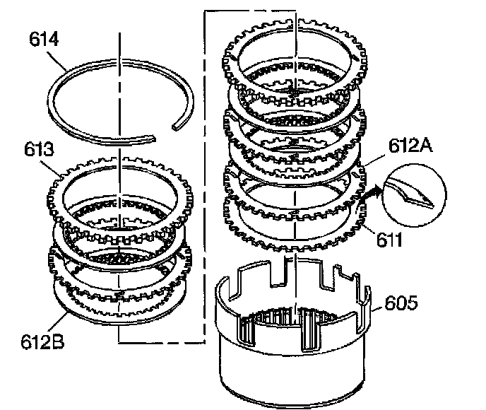
54. Reverse Input Clutch Disassemble
^ Tools Required- J 23327-1 Clutch Spring Compressor
- J 25018-A Clutch Spring Compressor Adapter

1. Remove the reverse input clutch retaining ring (614).
2. Remove all reverse input clutch plates (611-613).

3. Install the J 23327-1 and the J 25018-A.
4. Compress the reverse input clutch spring assembly.
5. Remove the reverse input clutch spring retainer ring (610).

6. Remove the reverse input clutch spring assembly (609).
7. Remove the reverse input clutch piston assembly (607).