50. 3-4 Clutch Assemble
Installation Procedure
1. Inspect the 3rd and 4th clutch apply plate (653), the fiber plate assemblies (654A), the steel plates (65413) and the selective backing plate (655) for the following conditions:
^ Damaged tangs
^ Delamination
^ Excessive wear
^ Heat damage or wear
^ Surface finish
^ Flatness

2. Install the 3rd and 4th clutch apply plate (653) into the input housing. Index each leg of the apply plate into the apply ring legs.
Important:
^ Vehicle models with a 2.2L engine have a different clutch plate stack.
^ The first steel plate (65413) has the same spline configuration as the 3rd and 4th clutch apply plate (653).
3. Install the 3rd and 4th clutch plates starting with a fiber plate assembly (654A) and alternate with a steel plate (65413).

Important: Use the following 3rd and 4th clutch plate installation order only for vehicle models with a 2.2L engine.
4. Install the 3rd and 4th clutch plates in the following order:
Important: 3rd and 4th clutch steel plate (652) is thinner than the other steel plates (654B)
4.1. steel plate (652)
4.2. fiber plate assembly (654A)
4.3. steel plate (654B)
4.4. fiber plate assembly (654A)
4.5. steel plate (654B)
4.6. steel plate (65413)
4.7. fiber plate assembly (654A)
4.8. steel plate (654B)
4.9. fiber plate assembly (654A)
4.10. steel plate (65413)
4.11. fiber plate assembly (654A)

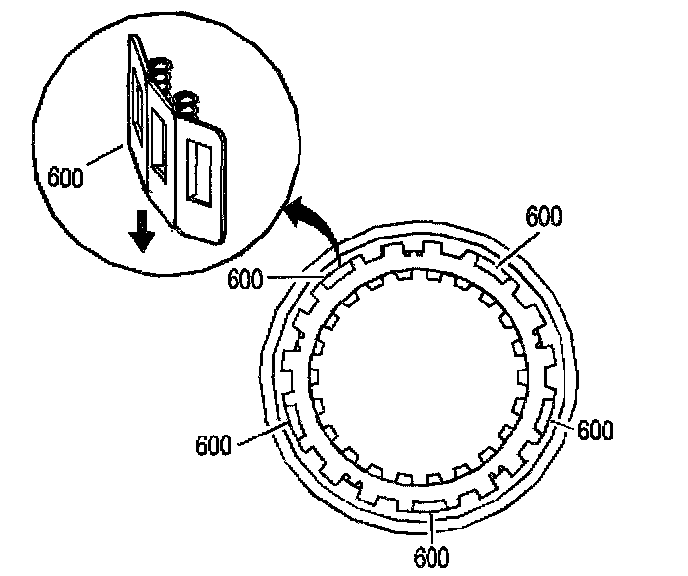
5. Install the 3-4 clutch boost spring assemblies (600) into the input housing.

6. Install the 3rd and 4th clutch selective backing plate (655). Some models may have a chamfer on one side of the selective backing plate. Install the chamfer side up.
7. Install the 3rd and 4th clutch backing plate retainer ring (656).