6. 2-4 Servo Cover and Assembly Removal
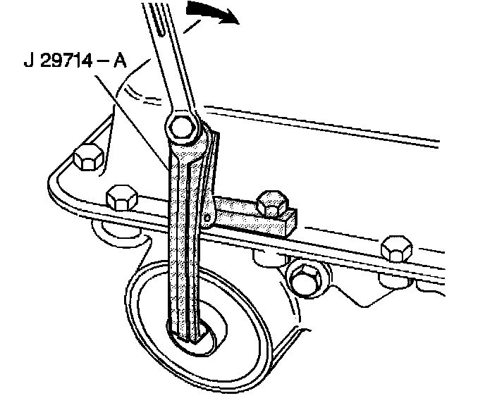
^ Tools Required- J 29714-A Servo Cover Compressor

1. Install the J 29714-A.
Important: If cover does not move inwards with tool, use a block of wood or suitable material and lightly tap on cover using a hammer to free up cover in bore.

2. Tighten the bolt using J 29714-A to compress the servo cover.

3. Remove the servo cover retaining ring J 29714-A.

4. Remove the servo cover and O-ring seal. If the servo cover seems to be hung up on the seal, cut and remove the O-ring seal before removing the cover.
5. Remove the 2-4 servo assembly.