Flexplate/Torque Converter Vibration Test
Flexplate/Torque Converter Vibration TestIsolating Vibration
Notice: Some engine/transaxle combinations cannot be balanced in this manner due to limited clearances between the torque converter bolts and the engine. Ensure that the bolts do not bottom out in the lug nuts or the torque converter cover could be dented and cause internal damage.
To isolate and correct a flywheel or torque converter vibration, separate the torque converter from the flywheel to determine if vibration is in the engine or transmission.
1. With the engine at idle speed and the transmission in PARK or NEUTRAL, observe the vibration.
2. Turn the engine OFF.
3. Raise and suitably support the vehicle.
Vehicle Lifting.
4. Remove the transmission converter cover bolts and the cover.
5. Mark the relationship of the converter to the flywheel.
6. Remove the bolts attaching the converter to the flywheel.
7. Slide the torque converter away from the flywheel.
8. Rotate the flywheel and torque converter to inspect for defects or missing balance weights.
9. Lower the vehicle.
10. With the engine at idle speed and the transmission in PARK or NEUTRAL, observe the vibration.
Diagnostic Starting Point - Vibration Diagnosis and Correction.
11. Turn the engine OFF.
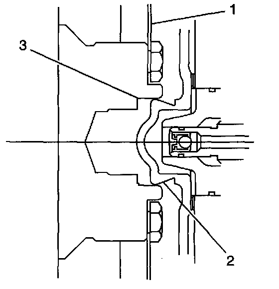
Indexing Torque Converter
To determine and correct a torque converter vibration, the following procedure may have to be performed several times to achieve the best possible torque converter to flywheel balance.
1. Raise and suitably support the vehicle.
Vehicle Lifting.

2. Rotate the torque converter one bolt position.
3. Align the torque converter hub (2) in the engine crankshaft (3) and install the torque converter to flywheel bolts.
4. Lower the vehicle.
5. With the engine at idle speed and the transmission in PARK or NEUTRAL, observe the vibration.
Repeat this procedure until you obtain the best possible balance.
6. Install the transmission converter cover bolts and the cover.