NV 3500 - Manual Transmission
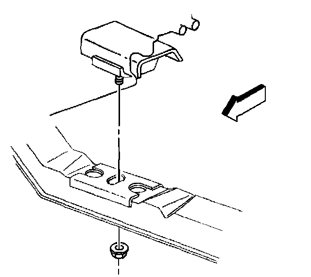
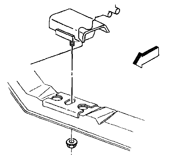
Transmission Mount ReplacementRemoval Procedure
Notice: Broken or deteriorated mounts can cause misalignment and destruction of certain drive train components. When a single mount breaks, the remaining mounts are subjected to abnormally high stresses.

1. Raise the vehicle. Refer to Vehicle Lifting.
2. Remove the nut holding the rear engine mount to the transmission support.

3. Remove the mount to transmission bolts.
4. Raise the transmission using a suitable transmission jack, just enough in order to permit the removal of the mount.

5. Remove the mount.
Installation Procedure

1. Install the mount.

2. Loosely install the mount to transmission bolts.
3. Lower the transmission.

Notice: Refer to Fastener Notice in Service Precautions.
4. Install the nut holding the rear engine mount to the transmission support.
^ Tighten the nut to 45 Nm (33 ft. lbs.).
^ Tighten the bolt to 50 Nm (37 ft. lbs.).
5. Lower the vehicle.