Center Support: Service and Repair
Center Bearing ReplacementRemoval Procedure

1. Raise the vehicle. Refer to Vehicle Lifting.
2. Remove the propeller shaft.
3. Remove the center bearing by doing the following:
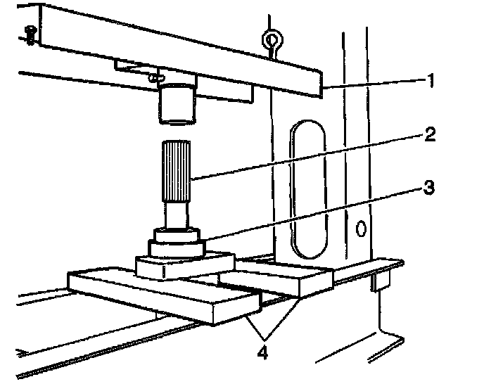
3.1. Stand the propeller shaft (2) on end in the press (1) with the center bearing (3) supported by the press bars (4).
3.2. Press the propeller shaft (2) down and off the center bearing (3).
Installation Procedure

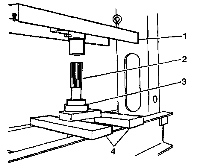
1. Install the center bearing (3) onto the propeller shaft (2) by pressing the center bearing onto the shaft using a press (1).
2. Install the propeller shaft.
3. Lower the vehicle.