4L80-E - Automatic Transmission
Accumulator Housing Replacement^ Tools Required
- J 25025 Guide Pins
Removal Procedure

1. Raise the vehicle. Refer to Vehicle Lifting.
2. Remove the control valve body assembly.
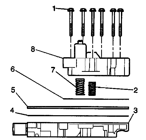
3. Remove the 3rd and 4th clutch accumulator housing bolts (1).
4. Remove the 3rd and 4th clutch accumulator housing (8).
5. Remove the accumulator housing gasket (6). The accumulator housing gasket may be stuck to the spacer plate (5).
6. Remove the 3rd clutch accumulator piston spring (7).
7. Remove the 4th clutch accumulator piston spring (2).
8. Remove the control valve body spacer plate (5).
9. Remove the control valve assembly to spacer plate gasket (4) from the spacer plate (5).
Third and Fourth Clutch Accumulator Disassembly
Important: Apply low pressure compressed air to the hole at the top of the accumulator housing to assist with the piston removal.

1. Remove the 3rd clutch accumulator piston (2).
2. Remove the 3rd clutch accumulator piston seals (1, 3).

3. Remove the 4th clutch accumulator piston pin retainer ring (5).
4. Remove the 4th clutch accumulator piston (4) and pin (2) from the accumulator housing (1).
5. Remove the 4th clutch accumulator piston pin (2) from the accumulator housing (1).
6. Remove the 4th clutch accumulator piston seal (3) from the accumulator housing (1).
Third and Fourth Clutch Accumulator Assembly

1. Install the 3rd clutch accumulator piston inner (3) and outer (1) seals. Lubricate the 3rd clutch accumulator piston seals (1, 3) with DEXRON III automatic transmission fluid.
2. Install the 3rd clutch accumulator piston (2).

3. Install the 4th clutch accumulator piston seal (3). Lubricate the 4th clutch accumulator piston seal (3) with DEXRON III automatic transmission fluid.
4. Assemble the 4th clutch accumulator piston pin (2) with the 4th clutch accumulator piston (4).
5. Install the 4th clutch accumulator piston assembly into the accumulator housing (1).
6. Install the 4th clutch accumulator piston pin retainer ring (5) onto the 4th clutch accumulator piston pin (2).
Installation Procedure

1. Install the J25025 into the control valve body bolt hole where the manual shaft detent roller and spring assembly is mounted.
2. Install the control valve body gasket (2) onto the accumulator housing (1).
3. Install the control valve body spacer plate (3) onto the valve body gasket (2).

4. Install the third and fourth clutch accumulator housing gasket (3).
5. Install the third clutch accumulator piston spring (1). This spring is the longer of the two springs.
6. Install the fourth clutch accumulator piston spring (4).
7. Install the third and fourth clutch accumulator housing assembly (5) onto the control valve body assembly (2).
8. Install the six accumulator housing bolts (6). Start the bolts finger tight and work towards the opposite end.

Notice: Refer to Fastener Notice in Service Precautions.
9. Tighten the accumulator housing bolts sequentially in the order shown.
^ Tighten the accumulator housing bolts to 11 Nm (97 inch lbs.).
10. Remove the J 25025 -5.
11. Install the control valve body assembly.
12. Lower the vehicle.
13. Fill the transmission to the proper level with approved fluid.