4L60-E - Automatic Transmission
Accumulator Assembly, Spacer Plate, and Gaskets^ Tools Required
- J 25025-B Pump and Valve Body Alignment Pin Set
- J 36850 Transjel Lubricant
Removal Procedure

1. Raise and suitably support the vehicle. Refer to Vehicle Lifting.
2. Remove the transmission oil pan and filter.
Important: The 1-2 accumulator can be removed without removing the control valve assembly.
3. Remove the control valve body.
4. Remove the accumulator cover retaining bolts.
5. Remove the 1-2 accumulator cover assembly.

6. Disassemble the 1-2 accumulator.
6.1. Blow compressed air into the 1-2 accumulator cover, as shown, to remove the 1-2 accumulator piston.
6.2. Remove the 1-2 accumulator inner and outer springs.
7. Inspect the 1-2 accumulator inner and outer springs for cracks.

8. Remove the 1-2 accumulator piston seal (1) from the 1-2 accumulator piston.
9. Inspect the 1-2 accumulator piston for the following defects:
^ Porosity
^ Cracks
^ Scoring
^ Nicks and scratches

10. Inspect the 1-2 accumulator cover for the following defects:
^ Porosity
^ Cracks
^ Scoring
^ Nicks and scratches

11. Remove the spacer plate support retaining bolts.
Important: Use care not to drop the following items that will be removed along with the spacer plate:
^ The number 1 checkball
^ The 3-4 accumulator spring
^ The 3-4 accumulator pin
12. Remove the spacer plate support.

13. Remove the spacer plate to valve body gasket, the spacer plate and the spacer plate to transmission case gasket.

14. Remove the 3-4 accumulator piston (2).
15. Inspect the 3-4 accumulator spring for cracks.

16. Remove the 3-4 accumulator piston seal (1) from the 3-4 accumulator piston.
17. Inspect the 3-4 accumulator piston for the following defects:
^ Porosity
^ Cracks
^ Scoring
^ Nicks and scratches
Installation Procedure

1. Install a new 3-4 accumulator piston seal (1) to the 3-4 accumulator piston.

2. Install the 3-4 accumulator pin (1) into the transmission case and retain the pin with J 36850.

3. Install the 3-4 accumulator piston (2) onto the pin (1) in the transmission case.
Ensure that the 3-4 accumulator piston legs face away from the transmission case.

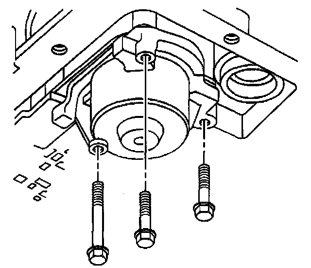
4. Install the J 25025-B (2, 3) to the transmission case.

5. Install the spacer plate to transmission case gasket and the spacer plate to valve body gasket to the spacer plate; use J 36850 in order to retain the gaskets to the spacer plate.
^ The case gasket is identified by a C. Be sure to place the case gasket on the transmission case side of the spacer plate.
^ The valve body gasket is identified by a V. Be sure to place the valve body gasket on the valve body side of the spacer plate.
6. Ensure that the solenoid screens (1, 2) are in place on the spacer plate.
7. Place the checkball (3) on the spacer plate in the location shown.
8. Place the 3-4 accumulator spring (4) on the spacer plate.
9. Install the spacer plate and related components to the transmission.

Notice: Refer to Fastener Notice in Service Precautions.
10. Install the spacer plate support and the spacer plate support retaining bolts.
^ Tighten the spacer plate support retaining bolts to 11 Nm (97 inch lbs.).

11. After installing the spacer plate support (2), look through the hole in the spacer plate to ensure that the checkball (1) has remained in the proper location.

12. Install a new 1-2 accumulator piston seal (1) to the 1-2 accumulator piston.

13. Install the 1-2 accumulator inner and outer springs to the 1-2 accumulator cover.
14. Install the 1-2 accumulator piston onto the pin in the 1-2 accumulator cover.
Ensure that the piston legs face the accumulator cover.

15. Install the 1-2 accumulator cover and the accumulator cover retaining bolts.
^ Tighten the accumulator cover retaining bolts to 11 Nm (97 inch lbs.).
16. Remove the J 25025-B from the transmission case.
17. Install the control valve body.
18. Install the transmission oil pan and filter.
19. Lower the vehicle.
20. Fill the transmission to the proper level with DEXRON III transmission fluid.