Alcohol/Contaminants-In-Fuel Diagnosis (With Special Tool)
TEST DESCRIPTIONFuel quality can effect vehicle performance. Gasoline and gasoline blends that are contaminated or contain excessive amounts of alcohol can effect vehicle driveability, fuel economy, fuel system components and emissions. Excessive alcohol in the fuel may cause fuel system corrosion, deterioration of rubber components, and subsequent fuel filter restriction. Some types of alcohol are more detrimental to fuel system components than others. Ethanol is commonly used in gasoline, but in concentrations of no more than 10 percent. Some fuels, such as E85, contain a very high percent of ethanol. Fuel with more than 15 percent ethanol may cause driveability conditions in vehicles such as hesitation, lack of power, stalling, or no start. If excessive alcohol in the fuel is suspected, then use the following procedure to test the fuel quality.
TEST PROCEDURE
CAUTION: Refer to Fuel Gage Leak Caution in Service Precautions.
1. Turn ON the J 44175 Fuel Composition Tester.
2. Verify the fuel composition tester is operational by measuring the AC frequency output with a DMM. Refer to Measuring Frequency in Diagrams. A frequency without a fuel sample in the test cell indicates that the tester is working correctly.
3. Install the fuel pressure gage. Refer to Fuel Pressure Gage Installation and Removal.
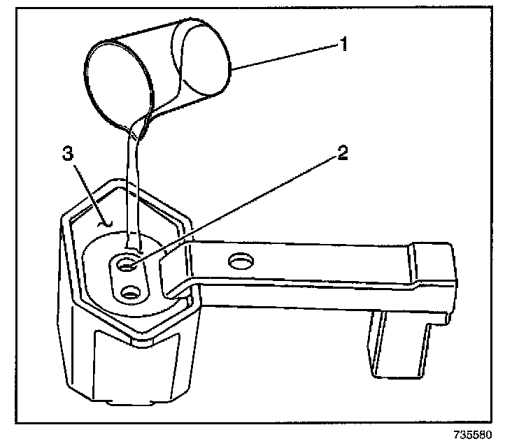
IMPORTANT: It will be necessary to bleed the fuel pressure gage a few times in order to obtain an accurate fuel sample.
4. Close the bleed valve on the fuel pressure gage.

5. Place the bleed hose (1) of the fuel pressure gage into the 100 ml beaker.
6. Command the fuel pump ON with a scan tool.
7. Slowly open the bleed valve on the fuel pressure gage, until an adequate fuel sample is obtained.
8. If water appears in the fuel sample, clean the fuel system and replace the fuel in the vehicle. Refer to Fuel System Cleaning. Service and Repair
IMPORTANT: Do not allow any substances other than gasoline, ethanol/gasoline blends, air, or acetone into the test ports of the fuel composition tester. Contaminants in the fuel composition tester could result in misdiagnosis.

9. Pour the fuel sample from the beaker (1) into the J 44175, until the level of the fuel is at the top of each fuel test port (2).
10. Observe the diagnostic LEDs on the fuel composition tester.
If the red fuel diagnostic LED is illuminated, a fuel contamination condition exists. Refer to Fuel System Cleaning. Service and Repair
11. Measure the output frequency of the fuel composition tester.
Alcohol/Contaminants-in-Fuel Diagnosis (With Special Tool):

12. Subtract 50 from the reading on the DMM to obtain the percentage of alcohol in the fuel sample. Refer to the examples in the table.
13. If the fuel sample contains more than 15 percent ethanol, replace the fuel in the vehicle.