Electronic Brake Control Module: Service and Repair
Electronic Brake Control Module (EBCM) ReplacementRemoval Procedure
Caution: Refer to Battery Disconnect Caution in Cautions and Notices.
Important: After installation, calibrate the new EBCM to the tire size that is appropriate to the vehicle.

1. Disconnect the negative battery cable.
Important: The area around the EHCU MUST be free from loose dirt to prevent contamination of disassembled ABS components.
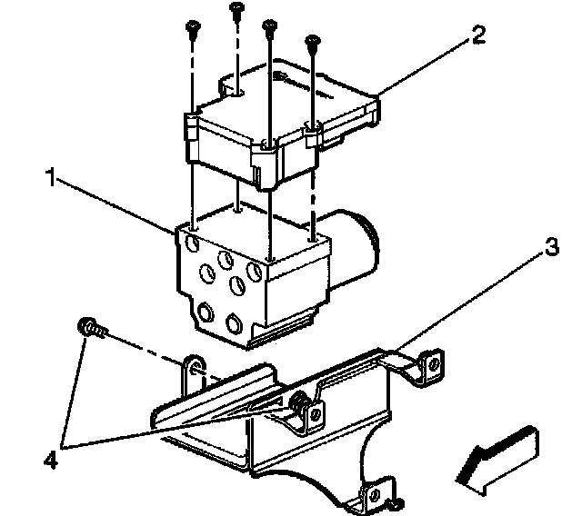
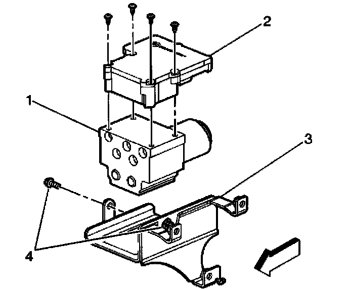
2. Thoroughly wash all contaminants from around the EHCU (1).
3. Disconnect the electrical connectors from the EBCM.
4. Loosen or remove the bolts (4) securing the EHCU mounting bracket (3) to the frame rail (5).

5. Gently move the EHCU down enough to remove the mounting screws that fasten the EBCM (2) to the BPMV (1).
6. Remove the EBCM (2) from the BPMV (1). Removal may require a light amount of force.
Important: Do not use a tool to pry the EBCM or the BPMV. Excessive force will damage the EBCM.
7. Clean the BPMV to E13CM mounting surfaces with a clean cloth.
Installation Procedure

Important:
^ Do not reuse the old mounting screws. Always install new mounting screws with the new EBCM.
^ Do not use RTV or any other type of sealant on the EBCM gasket or mating surfaces.
1. Install the EBCM (2) on to the BPMV (1).
Notice: Refer to Fastener Notice in Service Precautions.
2. Install the new screws in the EBCM (2).
^ Tighten the screws to 5 Nm (39 inch lbs.) in an X-pattern.

3. Install or tighten the EHCU bracket mounting bolts (4).
^ Tighten the EHCU bracket mounting bolts to 25 Nm (18 ft. lbs.).
4. Connect the electrical connectors to the EBCM.
5. Connect the negative battery cable.
6. Revise the tire calibration using the Scan Tool Tire Size Calibration function.
7. Return to Diagnostic Starting Point - Antilock Brake System.