4L80-E / 4L85-E Automatic Transmission

DTC P1860

Test 1-4

Test 5-14

Test 15-18
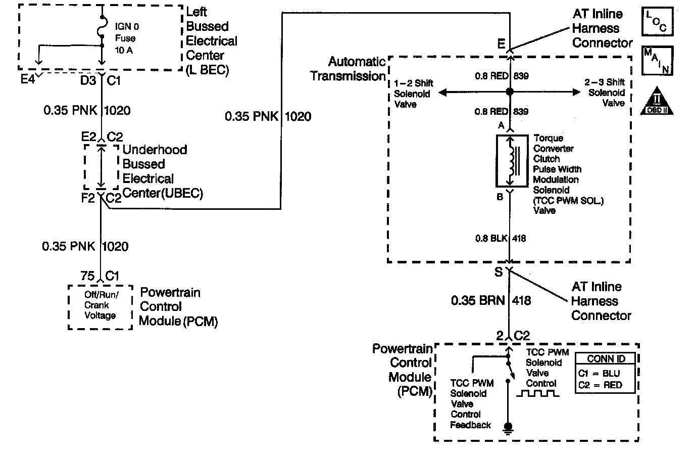
Circuit Description with 4L80-E / 4L85-E Automatic Transmission
The Torque Converter Clutch Pulse Width Modulation (TCC PWM) solenoid valve controls fluid acting on the converter clutch valve, which then controls TCC apply and release. The TCC PWM solenoid valve attaches to the control valve body within the transmission. Ignition voltage goes directly to the TCC PWM solenoid valve. The Powertrain Control Module (PCM) controls the TCC PWM solenoid valve by providing a ground path on the control circuit. The current flows through the TCC PWM solenoid valve coil according to the duty cycle (percentage of ON time). The TCC PWM solenoid valve provides a smooth engagement of the torque converter clutch by operating on a duty cycle percent of ON time.
If the PCM detects a continuous open or short in the TCC PWM solenoid valve circuit or the TCC PWM solenoid valve, then DTC P1860 sets. DTC P1860 is a type C DTC. For California emission vehicles and vehicles under 8600 GVW, DTC P1860 is a type B DTC.
Conditions for Running the DTC
^ The system voltage is 8.0-18.0 volts.
^ The engine is running greater than 400 RPM for greater than 7 seconds.
Conditions for Setting the DTC
^ All conditions for running the DTC are met, and either of the following conditions occur for 4.3 out of 5 seconds.
^ The PCM commands the TCC PWM solenoid valve to OFF (0 percent) and the voltage input remains low (zero volts).
^ The PCM commands the TCC PWM solenoid valve to ON (100 percent) and the voltage input remains high (B+).
Action Taken When the DTC Sets
^ For California emission equipped vehicles, the PCM illuminates the Malfunction Indicator Lamp (MIL) during the second consecutive trip in which the Conditions for Setting the DTC are met.
^ The PCM inhibits TCC engagement.
^ The PCM commands increased line pressure.
^ The PCM freezes shift adapts from being updated.
^ The PCM records the operating conditions when the Conditions for Setting the DTC are met. The PCM stores this information as Freeze Frame (Calif. only) and Failure Records (Calif. and Federal).
^ The PCM stores DTC P1860 in PCM history.
Conditions for Clearing the MIL/DTC
^ For California emissions, the PCM turns OFF the MIL during the third consecutive trip in which the diagnostic test runs and passes.
^ A scan tool can clear the MIL/DTC.
^ For California emissions, the PCM clears the DTC from PCM history if the vehicle completes 40 warm-up cycles without an emission related diagnostic fault occurring.
^ For Federal emissions, the PCM clears the DTC from PCM history if the vehicle completes 40 warm-up cycles without a non-emission related diagnostic fault occurring.
^ The PCM cancels the DTC default actions when the fault no longer exists and the ignition switch is OFF long enough in order to power down the PCM.
Diagnostic Aids
DTC P1860 defaults to an elevated line pressure condition which may result in TCC partial apply. This may induce idle surge and engine stall.
Test Description
The numbers below refer to the step numbers on the diagnostic table.
4. This step tests for voltage to the TCC PWM solenoid valve circuit at the 20-way connector.
6. This step tests the ability of the PCM and wiring to control the ground circuit.
8. This step tests the resistance of the TCC PWM solenoid valve and the internal wiring harness.