4L80-E / 4L85-E Automatic Transmission

DTC P1810
Test 1-6

Test 7-14

Test 15-17
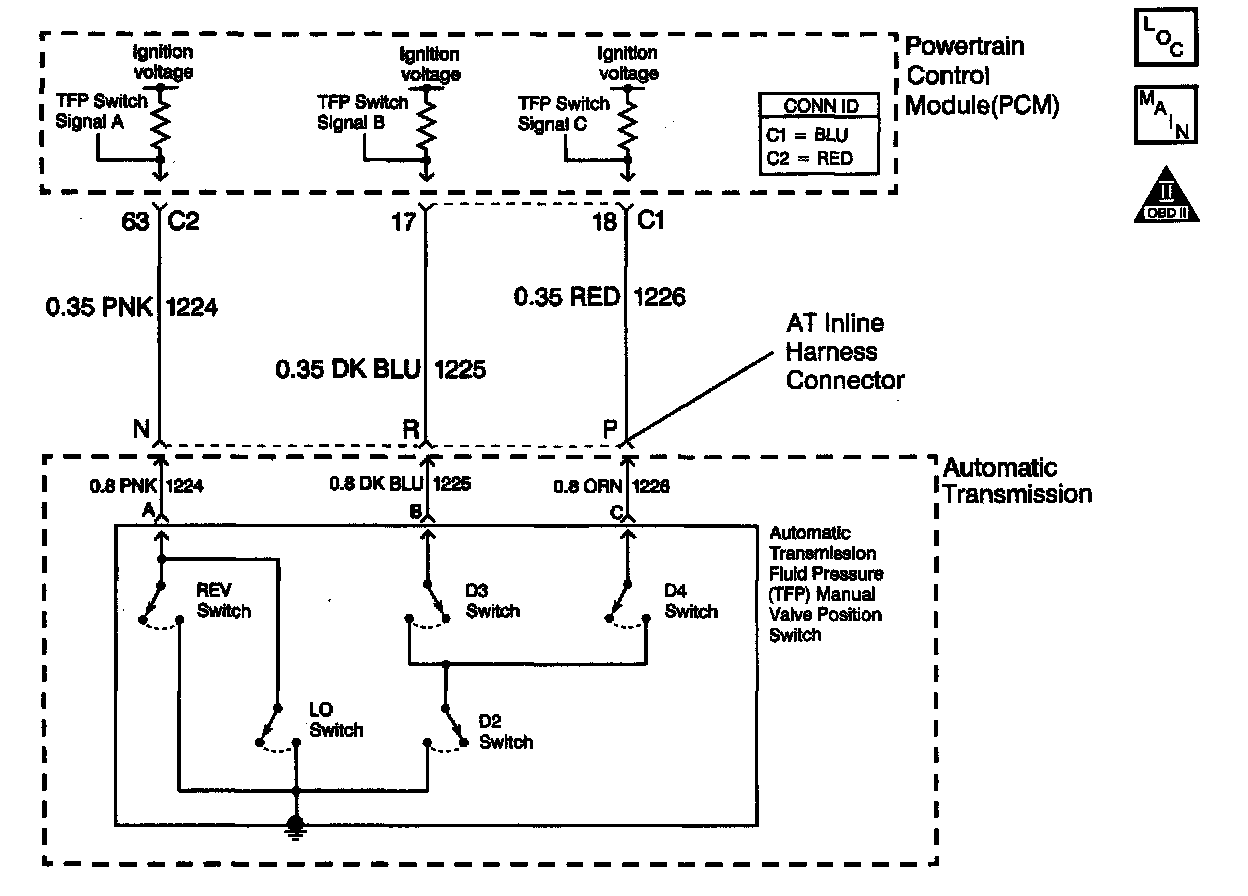
Circuit Description with 4L80-E / 4L85-E Automatic Transmission
The automatic Transmission Fluid Pressure (TFP) manual valve position switch consists of five normally-open pressure switches. The Powertrain Control Module (PCM) supplies battery voltage to each range signal. By grounding one or more of these circuits through various combinations of the pressure switches, the PCM detects what manual valve position has been selected, and compares the actual voltage combination of the switches to a TFP manual valve position switch combination table stored in memory.
The TFP manual valve position switch assembly cannot distinguish between PARK and NEUTRAL because the monitored valve body pressures are identical in both cases. With the ignition ON and the engine OFF, D2 is indicated. When the transmission 20-way connector is disconnected, the ground potential for the three range signals to the PCM is removed, and with the ignition ON, D2 is indicated.
If the PCM detects an invalid state of the TFP manual valve position switch circuit by deciphering the TFP manual valve position switch inputs, then DTC P1810 sets. DTC P1810 is a type C DTC, For California emissions vehicles and vehicles under 8600 GVW, DTC P1810 is a type B DTC.
Conditions for Running the DTC
^ The system voltage is 8.0-16.0 volts.
^ The engine speed is greater than 300 RPM for 7 seconds.
^ No AT OSS DTCs P0502 or P0503.
^ No AT ISS DTCs P0716 or P0717.
^ No PSA DTC P1810.
^ No MAP DTCs P0106, P0107 or P0108.
^ No 1-2 SS DTCs P0751, P0752 or P0753.
^ No 2-3 SS DTCs P0756, P0757 or P0758.
^ No TP sensor DTCs P0121, P0122 or P0123.
^ The engine torque must be between 108 Nm (80 ft. lbs.)
- 6.0 L: 576 Nm (425 ft. lbs.)
- 8.1 L: 881 Nm (650 ft. lbs.)
^ The engine vacuum is 0 - 105 kPa (0 - 15 psi).
Conditions for Setting the DTC:
DTC P1810 sets on the first occurrence in which any of the following condition occurs:
Condition 1
The PCM detects an illegal TFP manual valve position switch state for 60 seconds.
Condition 2
^ The engine speed is less than 50 RPM for 0.3 second; then between 50 and 525 RPM for 0.025 second; then the engine speed is greater than 525 RPM.
^ The vehicle speed is less than 8 km/h (5 mph).
^ Engine RPM sequence must occur within 30 seconds of key on.
^ The PCM detects the gear range D1, D2 or REVERSE before and after start up.
^ All conditions are met for 7 seconds and AT ISS is greater than 200 RPM.
Condition 3
^ The vehicle speed is greater than 8 km/h (5 mph).
^ The TP angle is greater than 10 percent.
^ The PCM detects an invalid state of the PSA sensor or the PSA circuit.
^ The TFP switch indicates the following:
- P/N when the ratio indicates third or fourth gear for greater than 15 seconds.
- Reverse when the ratio indicates D4, D3, D2, and D1 for greater than 15 seconds.
- D4, D3, D2, and D1 when the ratio indicates reverse for greater than 7 seconds.
Action Taken When the DTC Sets
^ For California emission equipped vehicles, the PCM illuminates the Malfunction Indicator Lamp (MIL) during the second consecutive trip in which the Conditions for Setting the DTC are met.
^ For Non-California emission equipped vehicles, the MIL is not illuminated.
^ The PCM commands maximum line pressure.
^ The PCM assumes D4 for the PRNDL shift pattern.
^ The PCM freezes shift adapts.
^ The PCM forces the TCC on in fourth gear.
^ The PCM records the operating conditions when the Conditions for Setting the DTC are met.
^ The PCM stores this information as Freeze Frame (Calif. only) and Failure Records (Calif. and Federal).
^ The PCM stores the DTC P1810 in PCM history during the second consecutive trip (Calif.) or the first trip (Federal) in which the Conditions for Setting the DTC are met.
Conditions for Clearing the MIL/DTC
^ For California emissions, the PCM turns OFF the MIL during the third consecutive trip in which the diagnostic test runs and passes.
^ A scan tool can clear the MIL/DTC.
^ For California emissions, the PCM clears the DTC from PCM history if the vehicle completes 40 warm-up cycles without an emission related diagnostic fault occurring.
^ For Federal emissions, the PCM clears the DTC from PCM history if the vehicle completes 40 warm-up cycles without a non-emission related diagnostic fault occurring.
^ The PCM cancels the DTC default actions when the fault no longer exists and the ignition switch is OFF long enough in order to power down the PCM.
Diagnostic Aids
^ Refer to the Transmission Fluid Pressure (TFP) Manual Valve Position Switch Logic table for the normal range signals and the illegal combinations.
^ DTC P1810 can be set falsely by low pump pressure, a stuck pressure regulator, or unit fill from overhaul and pan removal.
^ DTC P1810 can be set by a slipping forward clutch. It may allow the PCM to see a 2.08:1 ratio (reverse) when the manual valve position is indicated as D4.
^ DTC P1810 defaults to an elevated line pressure condition which may result in TCC partial apply. This may induce idle surge and engine stall.
Test Description
The numbers below refer to the step numbers on the diagnostic table.
3. This step tests the indicated range signal to the manual valve that is actually selected.
5. This step tests the voltage from the PCM to the transmission 20-way connector.
