P0785

DTC P0785

Test 1-7

Test 8-15

Test 16-21
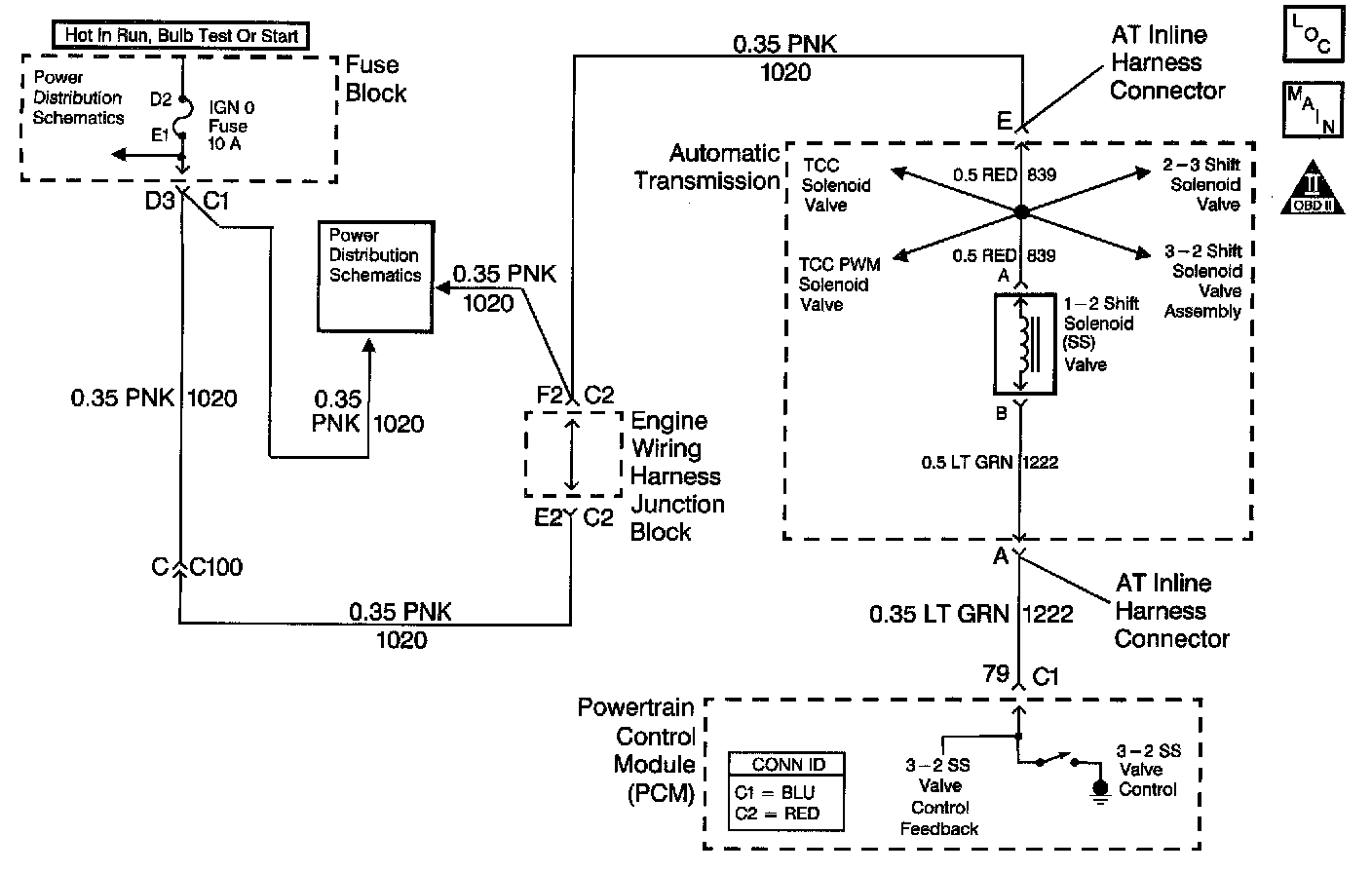
Circuit Description with 4L60-E / 4L65-E Automatic Transmission
The 3-2 Shift Solenoid (SS) valve assembly is a normally-closed, 3-port, on/off device that controls the 3-2 downshift. The solenoid attaches to the control valve body within the transmission. The solenoid receives ignition voltage through the OFF/ON/START voltage circuit. The Powertrain Control Module (PCM) controls the solenoid by providing a ground path on the 3-2 shift solenoid valve control circuit. During a 3-2 downshift, the 2-4 band applies as the 3-4 clutch releases. The PCM varies the timing between the 3-4 clutch release and the 2-4 band apply, depending on the vehicle speed and the throttle position.
When the PCM detects a continuous open, short to ground or short to power in the 3-2 SS valve assembly circuit, then DTC P0785 sets. DTC P0785 is a type B DTC.
Conditions for Running the DTC
^ The system voltage is 10-18 volts.
^ The engine speed is greater than 450 RPM for 5 seconds.
^ The engine is not in fuel cutoff.
Conditions for Setting the DTC
DTC P0785 sets if one of the following conditions occurs for 5 seconds:
Condition 1
The PCM commands the solenoid ON and the voltage feedback remains high (B+).
Condition 2
The PCM commands the solenoid OFF and the voltage feedback remains low (0 volts).
Action Taken When the DTC Sets
^ The PCM illuminates the Malfunction Indicator Lamp (MIL) during the second consecutive trip in which the Conditions for Setting the DTC are met.
^ The PCM commands a soft landing to third gear.
^ The PCM commands maximum line pressure.
^ The PCM inhibits TCC engagement.
^ The PCM inhibits 4th gear if the transmission is in hot mode.
^ The PCM freezes shift adapts from being updated.
^ The PCM records the operating conditions when the Conditions for Setting the DTC are met. The PCM stores this information as Freeze Frame and Failure Records.
^ The PCM stores DTC P0785 in PCM history during the second consecutive trip in which the Conditions for Setting the DTC are met.
Conditions for Clearing the MIL/DTC
^ The PCM turns OFF the MIL during the third consecutive trip in which the diagnostic test runs and passes.
^ A scan tool can clear the MIL/DTC.
^ The PCM clears the DTC from PCM history if the vehicle completes 40 warm-up cycles without an emission -related diagnostic fault occurring.
^ The PCM cancels the DTC default actions when the fault no longer exists and/or the ignition switch is OFF long enough in order to power down the PCM.
Test Description
The item numbers below refer to the step numbers on the diagnostic table.
4. This step tests the ability of the PCM to control the solenoid.
5. This step tests for voltage to the solenoid.
6. This step tests the ability of the PCM and the wiring to control the ground circuit.
8. This step measures the resistance of the automatic transmission wiring harness assembly and the 3-2 SS valve assembly.