4L60-E / 4L65-E Automatic Transmission

DTC P0758

Test 1-5

Test 6-14

Test 15-21
Circuit Description with 4L60-E / 4L65-E Automatic Transmission
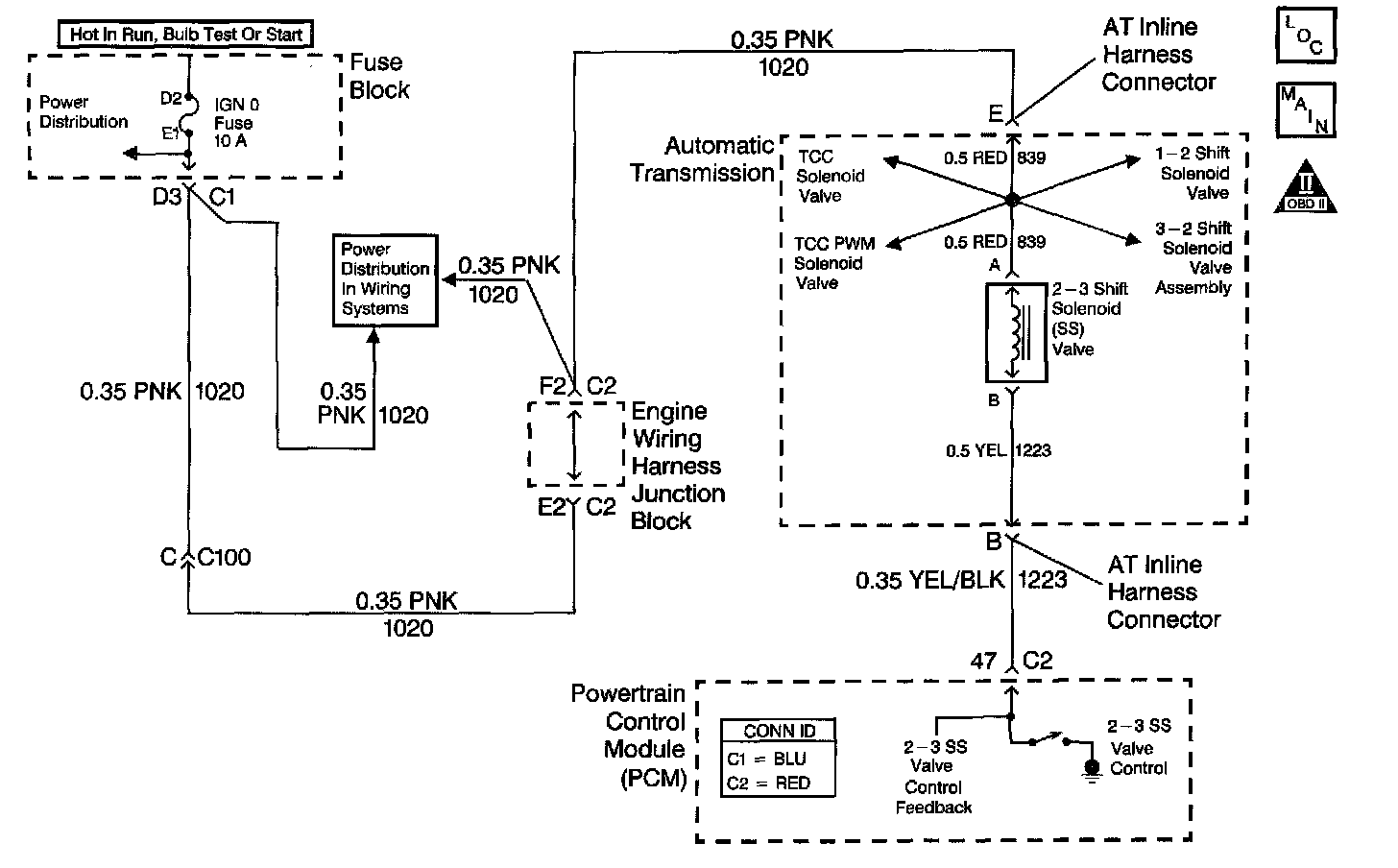
The 2-3 Shift Solenoid (SS) valve controls the fluid flow acting on the 2-3 shift valves. The solenoid is a normally-open exhaust valve. With the 1-2 SS valve, the 2-3 SS valve allows four different shifting combinations. The solenoid attaches to the control valve body within the transmission. The 2-3 SS valve receives ignition voltage through the OFF/ON/START voltage circuit. The Powertrain Control Module (PCM) controls the solenoid by providing the ground path on the 2-3 SS valve control circuit.
When the PCM detects a continuous open, short to ground or short to power in the 2-3 SS valve circuit, then DTC P0758 sets. DTC P0758 is a type A DTC.
Conditions for Running the DTC
^ The system voltage is 10-18 volts.
^ The engine speed is greater than 450 RPM for 5 seconds.
^ The engine is not in fuel cutoff.
Conditions for Setting the DTC
DTC P0758 sets if one of the following conditions occurs for 5 seconds:
Condition 1
The PCM commands the solenoid ON and the voltage feedback remains high (B+).
Condition 2
The PCM commands the solenoid OFF and the voltage feedback remains low (0 volts).
Action Taken When the DTC Sets
^ The PCM illuminates the Malfunction Indicator Lamp (MIL).
^ The PCM commands third gear only.
^ The PCM commands maximum line pressure.
^ The PCM inhibits TCC engagement.
^ The PCM freezes shift adapts from being updated.
^ The PCM records the operating conditions when the Conditions for Setting the DTC are met.
^ The PCM stores this information as Freeze Frame and Failure Records.
^ The PCM stores DTC P0758 in PCM history.
Conditions for Clearing the MIL/DTC
^ The PCM turns OFF the MIL during the third consecutive trip in which the diagnostic test runs and passes.
^ A scan tool can clear the MIL/DTC.
^ The PCM clears the DTC from PCM history if the vehicle completes 40 warm-up cycles without an emission-related diagnostic fault occurring.
^ The PCM cancels the DTC default actions when the fault no longer exists and/or the ignition switch is OFF long enough in order to power down the PCM.
Diagnostic Aids
Refer to the Shift Solenoid Valve State and Gear Ratio table.
Test Description
The numbers below refer to the step numbers on the diagnostic table.
4. This step tests the function of the 2-3 SS valve and the Automatic Transmission (AT) wiring harness assembly.
5. This step tests for power to the 2-3 SS valve from the ignition through the fuse.
6. This step tests the ability of the PCM and of the wiring to control the ground circuit.
8. This step measures the resistance of the AT wiring harness assembly and of the 2-3 SS valve.