4L80-E / 4L85-E Automatic Transmission

DTC P0753

Test 1-2

Test 3-10

Test 11-17
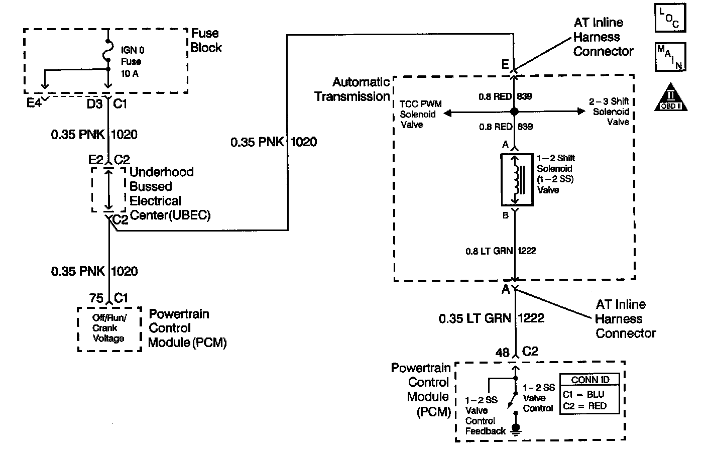
Circuit Description with 4L80-E / 4L85-E Automatic Transmission
The 1-2 Shift Solenoid (SS) valve controls the fluid flow action on the 1-2 and the 3-4 shift valves. The 1-2 SS valve is a normally-open exhaust valve that is used with the 2-3 SS valve to allow for four different shifting combinations. The 1-2 SS valve attaches to the control valve body within the transmission. The ignition voltage goes directly to the 1-2 SS valve. The PCM controls the 1-2 SS valve by providing the ground path through the 1-2 shift solenoid valve control circuit.
When the Powertrain Control Module (PCM) detects a continuous open or short in the 1-2 SS valve circuit or the 1-2 SS valve, then DTC P0753 sets. DTC P0753 is a type C DTC. For California emissions vehicles and vehicles under 8600 GVW, DTC P0753 is a type A DTC.
Conditions for Running the DTC
^ The system voltage is 8.0-18.0 volts.
^ The engine runs more than 400 RPM for greater than 7 seconds.
Conditions for Setting the DTC
^ All conditions for running the DTC are met, and either of the following conditions occur for 4.3 out of 5 seconds.
^ The PCM commands the solenoid on, and the voltage input remains high (B+).
^ The PCM commands the solenoid off and the voltage input remains low.
Action Taken When the DTC Sets
^ For California emission equipped vehicles, the PCM illuminates the Malfunction Indicator Lamp (MIL) during the second consecutive trip in which the Conditions for Setting the DTC are met.
^ For Non-California emission equipped vehicles, the MIL is not illuminated.
^ The PCM commands maximum line pressure.
^ The PCM freezes shift adapts.
^ The PCM inhibits 3-2 downshifts above 40 km/h (25 mph).
^ The PCM records the operating conditions when the Conditions for Setting the DTC are met. The PCM stores this information as Freeze Frame (Calif. only) and Failure Records (Calif. and Federal).
^ The PCM stores the DTC P0753 in PCM history during the second consecutive trip (Calif.) or the first trip (Federal) in which the Conditions for Setting the DTC are met.
Conditions for Clearing the MIL/DTC
^ For California emissions, the PCM turns OFF the MIL during the third consecutive trip in which the diagnostic test runs and passes.
^ A scan tool can clear the MIL/DTC.
^ For California emissions, the PCM clears the DTC from PCM history if the vehicle completes 40 warm-up cycles without an emission related diagnostic fault occurring.
^ For Federal emissions, the PCM clears the DTC from PCM history if the vehicle completes 40 warm-up cycles without a non-emission related diagnostic fault occurring.
^ The PCM cancels the DTC default actions when the fault no longer exists and the ignition switch is OFF long enough in order to power down the PCM.
Diagnostic Aids
^ An open ignition feed on the Off/Run/Crank voltage circuit (CKT 1020) can cause multiple DTCs to set. Refer to Shift Solenoid Valve State and Gear Ratio.
^ DTC P0753 defaults to an elevated line pressure condition which may result in TCC partial apply. This may induce idle surge and engine stall.
Test Description
The numbers below refer to the step numbers on the diagnostic table.
4. This step tests the function of the 1-2 SS valve and the internal wiring harness.
5. This step tests the power to the 1-2 SS valve from the ignition through the fuse.
7. This step tests the ability of the PCM and the wiring to control the ground circuit.
10. This step measures the resistance of the automatic transmission wiring harness assembly and the 1-2 SS valve.