4L60-E / 4L65-E Automatic Transmission

DTC P0753

Test 1-4

Test 5-12

Test 13-21
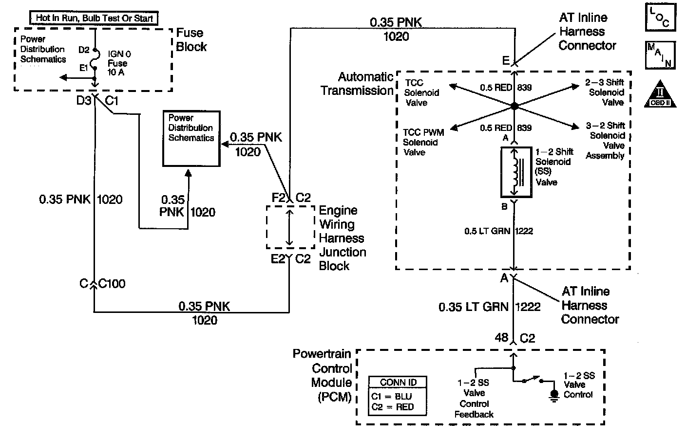
Circuit Description with 4L60-E / 4L65-E Automatic Transmission
The 1-2 Shift Solenoid (SS) valve controls the fluid flow acting on the 1-2 and 3-4 shift valves. The solenoid is a normally-open exhaust valve. With the 2-3 SS valve, the 1-2 SS valve allows four different shifting combinations. The solenoid attaches to the control valve body within the transmission. The 1-2 SS valve receives ignition voltage through the OFF/ON/START voltage circuit. The Powertrain Control Module (PCM) controls the solenoid by providing the ground path on the 1-2 SS valve control circuit.
When the PCM detects a continuous open, short to ground or short to power in the 1-2 SS valve circuit, then DTC P0753 sets. DTC P0753 is a type B DTC.
Conditions for Running the DTC
^ The system voltage is 10-18 volts.
^ The engine speed is greater than 450 RPM for 5seconds.
^ The engine is not in fuel cutoff.
Conditions for Setting the DTC
DTC P0753 sets if one of the following conditions occurs for 5 seconds:
Condition 1
The PCM commands the solenoid ON and the voltage feedback remains high (B+).
Condition 2
The PCM commands the solenoid OFF and the voltage feedback remains low (0 volts).
Action Taken When the DTC Sets
^ The PCM illuminates the Malfunction Indicator Lamp (MIL) during the second consecutive trip in which the Conditions for Setting the DTC are met.
^ The PCM commands D2 fine pressure.
^ The PCM inhibits 3-2 downshifts if the vehicle speed is greater than 48 km/h (30 mph).
^ The PCM inhibits TCC engagement.
^ The PCM inhibits 4th gear in Hot Mode.
^ The PCM freezes shift adapts from being updated.
^ The PCM records the operating conditions when the Conditions for Setting the DTC are met. The PCM stores this information as Freeze Frame and Failure Records.
^ The PCM stores DTC P0753 in PCM history during the second consecutive trip in which the Conditions for Setting the DTC are met.
Conditions for Clearing the MIL/DTC
^ The PCM turns OFF the MIL during the third consecutive trip in which the diagnostic test runs and passes.
^ A scan tool can clear the MIL/DTC.
^ The PCM clears the DTC from PCM history if the vehicle completes 40 warm-up cycles without an emission -related diagnostic fault occurring.
^ The PCM cancels the DTC default actions when the fault no longer exists and/or the ignition switch is OFF long enough in order to power down the PCM.
Diagnostic Aids
Refer to the Shift Solenoid Valve State and Gear Ratio table.
Test Description
The numbers below refer to the step numbers on the diagnostic table.
4. This step tests the function of the 1-2 SS valve and the Automatic Transmission (AT) wiring harness assembly.
5. This step tests for power to the 1-2 SS valve from the ignition through the fuse.
6. This step tests the ability of the PCM and of the wiring to control the ground circuit.
8. This step measures the resistance of the AT wiring harness assembly and of the 1-2 SS valve.