4L80-E / 4L85-E Automatic Transmission

DTC P0748

Test 1-7

Test 8-14

Test 15-17
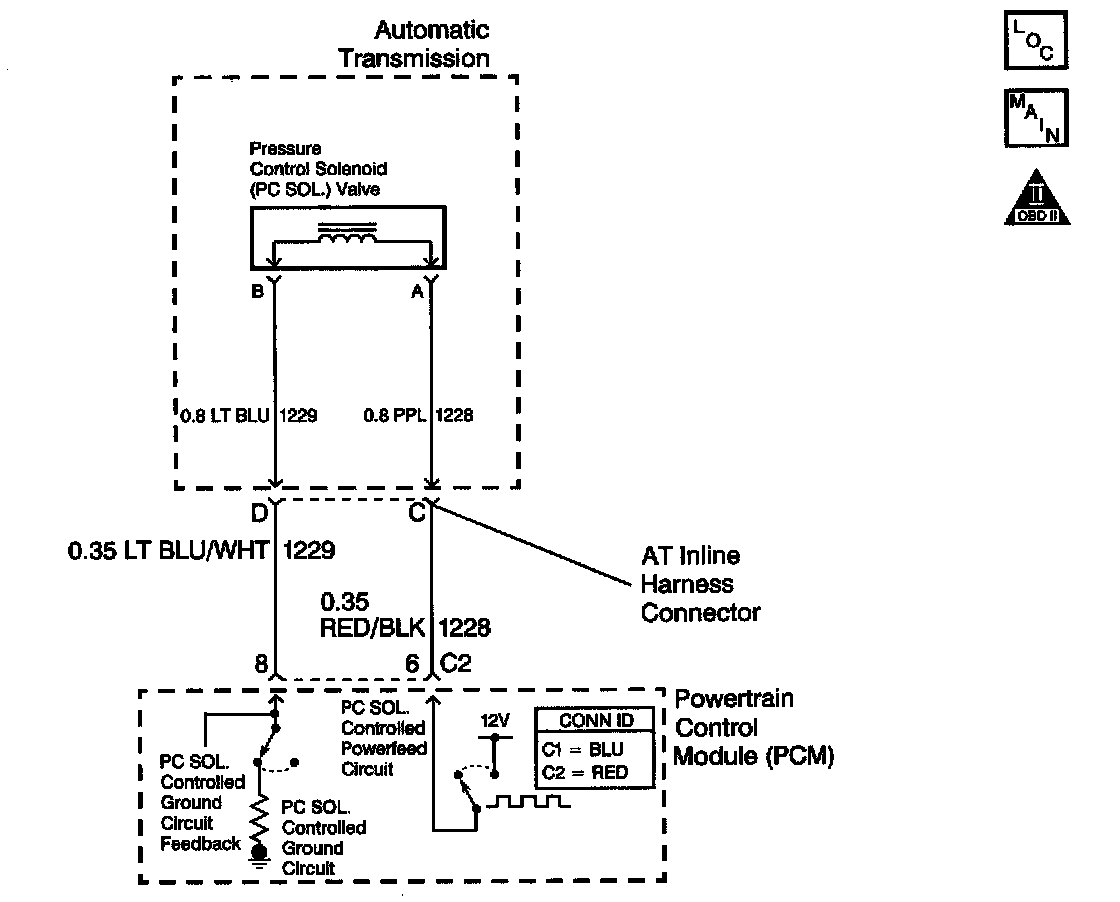
Circuit Description with 4L80-E / 4L85-E Automatic Transmission
The Pressure Control (PC) solenoid, valve is a Powertrain Control Module (PCM) controlled device that regulates the transmission line pressure. The PCM compares Throttle Position (TP) sensor voltage, engine RPM, and other inputs in order to determine the appropriate line pressure for a given load. The PCM regulates line pressure by applying a varying duty cycle to the PC solenoid valve based on the resistance of the solenoid, and the amperage needed to obtain optimum line pressure. The applied amperage varies from 0.1 amps for maximum line pressure to 1.1 amps for minimum line pressure.
If the PCM detects a PC duty cycle that exceeds 95 percent or less than 1.9 percent, then DTC P0748 sets. DTC: P0748 is a type C DTC.
Conditions for Running the DTC
^ The system voltage is greater than 11.0 volts at -40°C (-40°F) TFT or 12 volts at 150°C (302°F) TFT.
^ The engine must be running more than 300 RPM for at least 7 seconds, and not in fuel cut-off.
Conditions for Setting the DTC
^ The PC duty cycle exceeds 95 percent or is less than 1.9 percent.
^ All conditions are met for 700 milliseconds (0.5 seconds).
Action Taken When the DTC Sets
^ The PCM does not illuminate the Malfunction Indicator Lamp (MIL).
^ The PCM disables the PC solenoid valve, defaulting the transmission to maximum line pressure.
^ The PCM freezes shift adapts.
^ The PCM records the operating conditions when the Conditions for Setting the DTC are met. The PCM stores this information as Failure Records.
^ The PCM stores DTC P0748 in PCM history.
Conditions for Clearing the DTC
^ A scan tool clears the DTC from PCM history.
^ The PCM clears the DTC from PCM history if the vehicle completes 40 warm-up cycles without a non-emission-related diagnostic fault occurring.
^ The PCM cancels the DTC: default actions when the fault no longer exists and the ignition switch is OFF long enough in order to power down the PCM.
Diagnostic Aids
^ Inspect for improperly wired after-market equipment.
^ DTC P0748 defaults to an elevated line pressure condition which may result in TCC partial apply. This may induce idle surge and engine stall.
Test Description
The numbers below refer to the step numbers on the diagnostic table.
2. This step tests the ability of the PCM to command the PC solenoid valve.
3. This step tests the PC solenoid valve and the AT wiring harness assembly for incorrect resistance.
6. This step tests the PC solenoid valve and the internal wiring harness for a short to ground.
9. This step tests the entire PC solenoid valve circuit up to the PCM for continuity.
10. This step tests for a short to ground in the PC solenoid valve high control (solenoid A) circuit (CKT 1228) and the PC solenoid valve low control (solenoid A) circuit (CKT 1229), of the engine harness.