4L80-E / 4L85-E Automatic Transmission

DTC P0724

Test 1-7
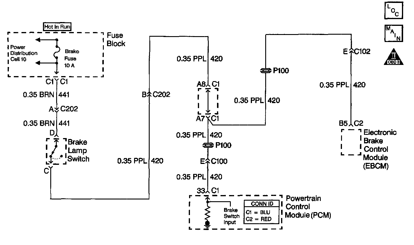
Circuit Description with 4L80-E / 4L85-E Automatic Transmission
The TCC/Stoplamp switch indicates the brake pedal status. The normally closed brake switch supplies a B+ signal to the Powertrain Control Module (PCM). The signal voltage circuit opens when the brakes are applied.
If the PCM detects a closed TCC/Stoplamp switch during decelerations, then DTC P0724 sets. DTC P0724 is a type C DTC.
Conditions for Running the DTC
^ No AT OSS DTC P0502 or P0503.
^ The following sequence of events occurs 10 consecutive times:
1. The vehicle speed is greater than 40 km/h (25 mph) for 7 seconds.
2. Then the vehicle speed is 8 - 40 km/h (5 - 25 mph) for 2.5 seconds.
3. Then the vehicle speed is less than 8 km/h (5 mph).
Conditions for Setting the DTC
^ All conditions are met for 10 occurrences.
^ The PCM detects a closed TCC/Stoplamp switch circuit (12 volts) during decelerations.
Action Taken When the DTC Sets
^ The PCM does not illuminate the Malfunction Indicator Lamp (MIL).
^ The PCM records the operating conditions when the Conditions for Setting the DTC are met. The PCM stores this information as Failure Records.
^ The PCM stores DTC P0724 in PCM history.
Conditions for Clearing the DTC
^ A scan tool clears the DTC from PCM history.
^ The PCM clears the DTC from PCM history if the vehicle completes 40 warm-up cycles without a non-emission-related diagnostic fault occurring.
^ The PCM cancels the DTC default actions when the fault no longer exists and the ignition switch is OFF long enough in order to power down the PCM.
Diagnostic Aids
Inspect the brake switch for proper mounting and operation.
Test Description
The number below refers to the step number on the diagnostic table.
3. This step isolates the TCC/Stoplamp switch as a source for setting the DTC.