4L60-E / 4L65-E Automatic Transmission

DTC P0724

Test 1-6
Circuit Description with 4L60-E / 4L65-E Automatic Transmission
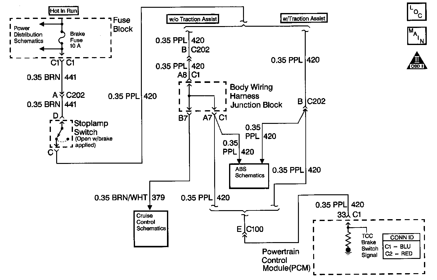
The brake switch indicates brake pedal status to the Powertrain Control Module (PCM). The brake switch is a normally-closed switch that supplies battery voltage on the TCC brake switch signal circuit to the PCM. Applying the brake pedal opens the switch, interrupting voltage to the PCM. When the brake pedal is released, the PCM receives a constant voltage signal. If the PCM receives a zero voltage signal at the brake switch input, and the Torque Converter Clutch (TCC) is engaged, the PCM de-energizes the TCC solenoid valve. The PCM disregards the brake switch input for TCC scheduling if there is a brake switch circuit fault.
When the PCM detects a closed brake switch circuit (12 volts, high input) during decelerations, then DTC P0724 sets. DTC P0724 is a type C DTC.
Conditions for Running the DTC
^ No VSS assembly DTCs P0502 or P0503.
^ The ignition is ON.
^ DTC P0719 has not passed.
Conditions for Setting the DTC
^ The PCM detects a closed brake switch circuit (12 volts) without changing for 2 seconds and the following events occur eight times:
^ The vehicle speed is greater than 32 km/h (20 mph) for 6 seconds;
^ then the vehicle speed is between 8 - 32 km/h (5 - 20 mph) for 4 seconds;
^ then the vehicle speed is less than 8 km/h (5 mph).
Action Taken When the DTC Sets
^ The PCM does not illuminate the Malfunction Indicator Lamp (MIL).
^ The PCM records the operating conditions when the Conditions for Setting the DTC are met. The PCM stores this information as Failure Records.
^ The PCM stores DTC P0724 in PCM history.
Conditions for Clearing the DTC
^ A scan tool can clear the DTC.
^ The PCM clears the DTC from PCM history if the vehicle completes 40 warm-up cycles without a non-emission-related diagnostic fault occurring.
^ The PCM cancels the DTC default actions when the fault no longer exists and/or the ignition switch is OFF long enough in order to power down the PCM.
Diagnostic Aids
^ Inspect the brake switch for proper mounting and operation.
^ Inspect for ABS DTCs. A faulty ABS condition may contribute to setting DTC P0724.
Test Description
The numbers below refer to the step numbers on the diagnostic table.
2. This step isolates the brake switch as a source for setting the DTC.